手机橙电

欢迎来到橙电平台

登录 免费注册

  【中国仪表网 仪表专利】创意无极限,仪表大发明。今天为大家介绍一项国家发明授权专利——便于安装的NB-IOT无线远传水表

要闻     2018-05-23 11:57:55         中国仪表网

  【中国仪表网 仪表专利】创意无极限,仪表大发明。今天为大家介绍一项国家发明授权专利——便于安装的NB-IOT无线远传水表

  【中国仪表网 仪表专利】创意无极限,仪表大发明。今天为大家介绍一项国家发明授权专利——便于安装的NB-IOT无线远传水表。该专利由安徽翼迈科技股份有限公司申请,并于2018年5月22日获得授权公告。
 
  内容说明
 
  本发明涉及一种无线远传水表,具体涉及便于安装的NB-IOT无线远传水表。
 
  发明背景
 
  随着无线电通讯技术和单片机技术的发展,无线远传水表也日趋完善和成熟。无线远传水表一定程度上解决了抄表难的问题,相对有线远传水表而言,无线远传水表具有更大的发展潜力。无线远传水表具有不用布线、调试难度小、随时安装随时接通的优点、并且无线远传水表每个表都是单一接点、这样给水表的维护和更换提供了非常便利的条件,而且无线远传水表采用电池工作方式,因此安装不受其他行业限制。
 
  但现有无线远传水表通常是通过卡扣或螺纹方式组装,在组装的时候,由于通常都是拿在手上进行两端的分别安装,因此安装的时候很容易从手中滑落从而掉落到地上,而且水表安装好之后,基本是属于悬空状态,没有任何物体可以支撑,所以早受到撞击的时候便会很容易在与水管的接口断落。
 
  发明内容
 
  本发明所要解决的技术问题是现有无线远传水表通常是通过卡扣或螺纹方式组装,在组装的时候,由于通常都是拿在手上进行两端的分别安装,因此安装的时候很容易从手中滑落从而掉落到地上,而且水表安装好之后,基本是属于悬空状态,没有任何物体可以支撑,所以早受到撞击的时候便会很容易在与水管的接口断落。
 

 
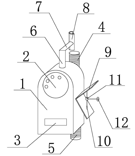
图为本发明结构示意图
 
  本发明的目的在于提供便于安装的NB-IOT无线远传水表,能够在安装水表的时候将水表的一端固定挂扣在水管上,然后再进行两端的连接,可以防止在安装过程中水表掉落,同时水表安装好后,能够通过侧边的特殊结构连接或者支撑在墙边以及其他支撑物上,从而为水表提供支撑力,避免水表与水管的连接处在受到撞击时产生过大形变造成破损,提高了水表安装与使用的安全性能。
 
  本发明通过下述技术方案实现:便于安装的NB-IOT无线远传水表,包括无线远传水表本体,无线远传水表本体的正面上设有表盘和显示屏,无线远传水表本体的背面上方连有进水管,下方连有出水管,无线远传水表本体的顶部设有垂直连接的安装固定杆,安装固定杆的顶部通过伸缩杆与水管卡扣相连,水管卡扣包括两块一端铰接的圆弧形卡板,两块卡板用于包覆在水管外壁;无线远传水表本体的两侧壁上分别铰接有两块上下设置的开合板,合板的一端与无线远传水表的侧壁铰接,开合板能够绕铰接端上下翻转,两块开合板之间连有竖直设置的旋转杆,旋转杆上活动套设有转筒,转筒的侧壁上通过连杆连有固定吸盘,转筒能够沿着旋转杆外壁做旋转运动。
 
  本发明无线远传水表,能够在安装水表的时候将水表的一端固定挂扣在水管上,然后再进行两端的连接,可以防止在安装过程中水表掉落,同时水表安装好后,能够通过侧边的特殊结构连接或者支撑在墙边以及其他支撑物上,从而为水表提供支撑力,避免水表与水管的连接处在受到撞击时产生过大形变造成破损,提高了水表安装与使用的安全性能。在安装的时候,将无线远传水表本体顶部的水管卡扣扣在需要安装的水管上,具体操作为将两块铰接的卡板翻开一定距离然后套在水管上,通过卡板进行加紧固定,然后在对进水管和出水管与水管连接的时候就不会担心掉落,安装好之后,通过两侧开合板中设置的吸盘,使安装好后的水表能够与墙面或者其他支撑面之间进行固定,不会在受到外力使产生晃动;旋转杆上活动套设有转筒,转筒能够沿着旋转杆外壁做旋转运动,因此能够调节固定吸盘所在的方位以找到合适的墙面或支撑面。
 
  旋转杆为长度可调节的伸缩杆,旋转杆的两端与开合板铰接,开合板绕铰接端上下翻转时能够拉长旋转杆,转筒能够沿着旋转杆壁上下滑动,能够通过以上的结构调节转筒的位置高度,以便固定吸盘与墙面或支撑面的连接;同时在水表在还没有安装时,能够使开合板完全与无线远传水表本体的侧壁完全贴合,减少占地面积,便于运输。位于上方的开合板表面上设有插卡槽,通常插卡槽都是安装在无线远传水表本体的正面上方,无线远传水表本体在使用过程中不仅正面容易积聚落尘,而且容易受到损坏,因此将插卡槽设置在开合板表面上,即插卡槽是设置在开合板与无线远传水表本体的侧壁之间,安全性高。无线远传水表本体正面上设有透明盖板,对无线远传水表本体起到保护作用。进水管与出水管外套设有橡胶保护圈,在无线远传水表本体在运输过程中避免进水管与出水管受到损伤。
 
  本发明与现有技术相比,具有如下的优点和有益效果:1、本发明便于安装的NB-IOT无线远传水表,能够在安装水表的时候将水表的一端固定挂扣在水管上,然后再进行两端的连接,可以防止在安装过程中水表掉落,同时水表安装好后,能够通过侧边的特殊结构连接或者支撑在墙边以及其他支撑物上,从而为水表提供支撑力,避免水表与水管的连接处在受到撞击时产生过大形变造成破损,提高了水表安装与使用的安全性能;2、本发明便于安装的NB-IOT无线远传水表,旋转杆为长度可调节的伸缩杆,旋转杆的两端与开合板铰接,开合板绕铰接端上下翻转时能够拉长旋转杆,转筒能够沿着旋转杆壁上下滑动,能够通过以上的结构调节转筒的位置高度,以便固定吸盘与墙面或支撑面的连接;同时在水表在还没有安装时,能够使开合板完全与无线远传水表本体的侧壁完全贴合,减少占地面积,便于运输;3、本发明便于安装的NB-IOT无线远传水表,位于上方的开合板表面上设有插卡槽,通常插卡槽都是安装在无线远传水表本体的正面上方,无线远传水表本体在使用过程中不仅正面容易积聚落尘,而且容易受到损坏,因此将插卡槽设置在开合板表面上,即插卡槽是设置在开合板与无线远传水表本体的侧壁之间,安全性高。
 
  如需进一步了解,请下载该专利完整说明书。
 
  更多仪表技术专利最新动态,请持续关注【仪表专利】
相关资料下载:便于安装的NB-IOT无线远传水表.pdf
相关阅读:
今日焦点 Hot
本周热点

询价规则     |     报价规则     |     服务条款     |     法律声明

Copyright 2014-2025 www.gzcd88.com 广州橙电网络科技有限公司 版权所有 粤ICP备15096921号-2

期待您的反馈

你的需求是我的使命,你的建议的是我们的动力

关注橙电采购平台官方微信 - 橙电君