手机橙电

欢迎来到橙电平台

登录 免费注册

  创意无极限,仪表大发明。今天为大家介绍一项国家发明授权专利——一种盐雾腐蚀试验箱

要闻     2018-01-05 11:40:50         中国仪表网

  创意无极限,仪表大发明。今天为大家介绍一项国家发明授权专利——一种盐雾腐蚀试验箱

  创意无极限,仪表大发明。今天为大家介绍一项国家发明授权专利——一种盐雾腐蚀试验箱。该专利由合肥风生水起信息科技有限公司申请,并于2017年12月29日获得授权公告。
 
  内容说明
 
  本发明涉及一种试验箱,具体涉及一种盐雾腐蚀试验箱。
 
  发明背景
 
  盐雾腐蚀是一种常见和最有破坏性的大气腐蚀,盐雾对金属材料表面的腐蚀非常严重,对于产品抗盐雾腐蚀性能的提高越来越重视,但是现有技术中的盐雾腐蚀试验箱还存在一些问题,第一、虽然现在已经普及使用透明的箱盖,但是在实验过程中由于盐雾的作用,清楚的观察实验还是受到限制,无法准确的判断实验的进程,对实验人员的要求高,劳动强度大;第二、支撑架通常为矩形,试样相对于盐雾喷射器的位置不一,降低了实验的对比性。
 
  发明内容
 
  本发明的目的在于提供一种可以降低盐雾对观察的影响,提高实验精度,降低实验人员的劳动强度,增加试样对比性的盐雾腐蚀试验箱。
 

 
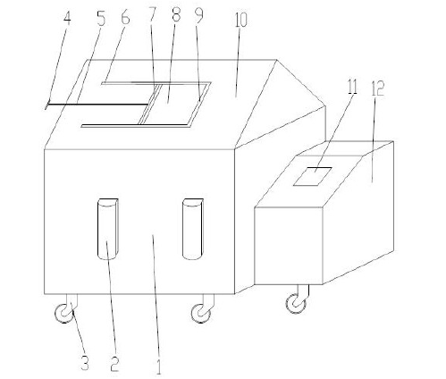
图为本发明一种盐雾腐蚀试验箱结构示意图
 
  本发明技术方案一种盐雾腐蚀试验箱,包括主箱体、观察窗、透明箱盖、盐水箱和盐雾喷射装置,主箱体上端设置有透明箱盖,主箱体内设置有盐雾喷射装置,主箱体侧面设置有盐水箱,盐水箱上表面设置有控制装置面板,主箱体正面设置有盐雾计量器,透明箱盖上设置有观察窗,正对观察窗下端设置有滑动窗,透明箱盖下表面设置有导轨和限位导轨,导轨和限位导轨位置与滑动窗边缘位置相适应,导轨和限位导轨靠近滑动窗侧面设置有凹槽一和凹槽二,凹槽一和凹槽二中均设置有密封垫,滑动窗远离限位导轨一端连接有拉杆,拉杆另一端设置有手柄,盐雾喷射装置包括环形支架、漏斗、盐雾喷射器,漏斗均匀安装在环形支架上,盐雾喷射器安装在环形支架圆心位置,滑动窗连接有拉杆的端部上表面设置有条形密封垫。主箱体和盐水箱底部均设置有万向轮。环形支架围绕盐雾喷射器设置,可以设置不少于一个的盐雾喷射器,并且针对每个盐雾喷射器设置不少于两层的环形支架。
 
  一种盐雾腐蚀试验箱,包括主箱体、观察窗、滑动窗、透明箱盖、盐水箱和盐雾喷射装置,滑动窗通过手柄推动拉杆在导轨内滑动,当推到限位导轨位置时,由于凹槽一、凹槽二中的密封垫与条形密封垫的作用,使盐雾无法触及到观察窗,为精准的观察实验提供方便,实验观察结束关闭滑动窗时,由于条形密封垫与滑动窗之间的紧密接触作用,可以擦去滑动窗上表面的盐雾,使得关闭滑动窗后,观察窗仍然不受盐雾的影响,盐雾喷射装置的支撑架为环形,在实验过程中,环形支架上的试样相对于盐雾喷射器的位置一致,增加了实验试样之间的对比性。
 
  本发明技术方案的一种盐雾腐蚀试验箱有益效果是:设置的滑动窗可以有效的避免盐雾对观察窗的影响,提高实验的精度,降低实验者的劳动强度;环形支架提高试样之间的对比性,为实验结果的的准确把握提供更多依据,减少试验次数,提高实验效率。
 
  如需进一步了解,请下载该专利完整说明书。
 
  更多仪表技术专利最新动态,请持续关注
相关资料下载:一种盐雾腐蚀试验箱.pdf
相关阅读:
今日焦点 Hot
本周热点

询价规则     |     报价规则     |     服务条款     |     法律声明

Copyright 2014-2025 www.gzcd88.com 广州橙电网络科技有限公司 版权所有 粤ICP备15096921号-2

期待您的反馈

你的需求是我的使命,你的建议的是我们的动力

关注橙电采购平台官方微信 - 橙电君