手机橙电

欢迎来到橙电平台

登录 免费注册

  创意无极限,仪表大发明。今天为大家介绍一项国家发明授权专利——一种高压变送器

要闻     2018-01-02 11:25:54         中国仪表网

  创意无极限,仪表大发明。今天为大家介绍一项国家发明授权专利——一种高压变送器

  创意无极限,仪表大发明。今天为大家介绍一项国家发明授权专利——一种高压变送器。该专利由安徽禾禾自动化科技有限公司申请,并于2017年12月22日获得授权公告。
 
  内容说明
 
  本发明涉及液位检测技术领域,具体是一种高压变送器。
 
  发明背景
 
  在纤维、橡胶、塑料等产品的生产设备中,通常需要使用压力变送器来测量其中的粘稠的流体压力,包括压差、绝对压力和表面压力,以便于对生产过程的参数进行监视和控制,使其保持在安全生产范围内。目前的压力变送器在制造过程中,密封性能差,结构连接牢固性差,并且其中的压力膜片可耐受的压力值较低,当达到满量程时,压力变送器将遭到破坏,其维护和校验成本昂贵,并且严重影响纤维、橡胶、塑料等产品的生产制造。
 
  发明内容
 
  本发明的目的在于提供一种高压变送器,以解决上述背景技术中提出的问题。
 

 
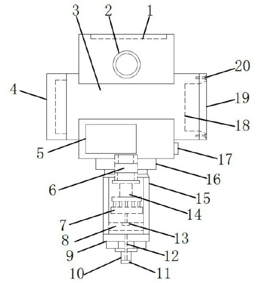
图为本发明的结构示意图
 
  为实现上述目的,本发明提供如下技术方案:一种高压变送器,包括不锈钢壳体、压力膜片、感压探头、压敏元件、取压接头和数字显示器,不锈钢壳体前端通过安装有固定螺钉固定有前盖,不锈钢壳体前端安装有数字显示器,数字显示器连接芯片组,不锈钢壳体后端通过激光冷焊工艺焊接有后盖;不锈钢壳体底端内部安装有芯片组,芯片组底端连接合金航插,合金航插连接电子电路板,电子电路板安装在取压接头内;电子电路板底端连接压敏元件,压敏元件嵌入在压力膜片内,压力膜片下方的取压接头底端安装有感压探头,感压探头内部设有引压孔,感压探头底端连接螺纹杆,螺纹杆底端内部设有感压弹性元件。
 
  前盖中部设有玻璃视窗。芯片组和数字显示器之间的电路上安装有输入调整键,输入调整键安装在不锈钢壳体顶端,输入调整键上方设有输入调整键塑料盖。取压接头上端通过锁紧螺丝固定在不锈钢壳体底端中部且不锈钢壳体与取压接头之间设有密封圈。不锈钢壳体上侧设有电缆接口。不锈钢壳体底侧铆接有铭牌标签。取压接头上端与不锈钢壳体底端中部通过激光冷焊工艺焊接。不锈钢壳体底端前侧安装有测量元件盖板,测量元件盖板内的不锈钢壳体上安装有测量元件。取压接头与感压探头之间通过激光冷焊工艺焊接,取压接头内的压力膜片为不锈钢或钽材料制成的加厚膜片。
 
  与现有技术相比,本发明的有益效果是:一种高压变送器,结构紧凑,通过激光冷焊工艺焊接,密封性好,连接稳固可靠,感压探头测量粘稠流体压力和液位测量,感压弹性元件和引压孔实现宽范围的压力感应并解决了螺纹杆及感压探头内部结垢、堵塞的问题,清洁方便卫生,不锈钢或钽材料制成的加厚膜片,可耐受四倍压力,实现高压测量。
 
  如需进一步了解,请下载该专利完整说明书。
 
  更多仪表技术专利最新动态,请持续关注
相关资料下载:一种高压变送器.pdf
相关阅读:
今日焦点 Hot
本周热点

询价规则     |     报价规则     |     服务条款     |     法律声明

Copyright 2014-2025 www.gzcd88.com 广州橙电网络科技有限公司 版权所有 粤ICP备15096921号-2

期待您的反馈

你的需求是我的使命,你的建议的是我们的动力

关注橙电采购平台官方微信 - 橙电君