手机橙电

欢迎来到橙电平台

登录 免费注册

  创意无极限,仪表大发明。今天为大家介绍一项国家发明授权专利——一种单法兰电容式液位变送器

要闻     2017-12-29 11:57:43         中国仪表网

  创意无极限,仪表大发明。今天为大家介绍一项国家发明授权专利——一种单法兰电容式液位变送器

  创意无极限,仪表大发明。今天为大家介绍一项国家发明授权专利——一种单法兰电容式液位变送器。该专利由安徽禾禾自动化科技有限公司申请,并于2017年12月22日获得授权公告。
 
  内容说明
 
  本发明涉及测量仪表技术领域,具体是一种单法兰电容式液位变送器。
 
  发明背景
 
  电容式液位变送器是依据电容感应原理,当被测介质测量电极的高度变化时,引起其电容变化。它可将各种物位、液位介质高度的变化转换成标准电流信号,远传至操作控制室供二次仪表或计算机装置进行集中显示、报警或自动化控制。可替代传统的浮球式、投入式、差压式等变送器在各种场合下应用。
 
  但是现有的电容式液位变送器的表头多为指针型,参数读取及显示的精确度低,并且电容式液位变送器的结构强度低,受力容易损坏;通过插入的方式或软探极线的方式安装测量极为不便,耐腐蚀、抗振动、抗冲击性能差。
 
  发明内容
 
  本发明的目的在于提供一种单法兰电容式液位变送器,以解决上述背景技术中提出的问题。
 

 
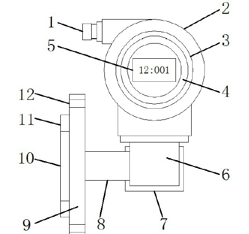
图为本发明的结构示意图
 
  为实现上述目的,本发明提供如下技术方案:一种单法兰电容式液位变送器,包括不锈钢壳体、数字显示器、法兰盘和基座板,其特征在于,不锈钢壳体前端连接前盖,前盖中部设有玻璃视窗,玻璃视窗内的不锈钢壳体前端安装有数字显示器;不锈钢壳体上端设有电缆接口,不锈钢壳体底端连接取压接头,取压接头底连接不锈钢筒,不锈钢筒端部连接法兰盘,法兰盘前端中部焊接有固定环,固定环内嵌入有基座板;基座板前端面安装有波纹隔离膜片,波纹隔离膜片内的基座板中部开设有引压孔,引压孔与基座板内部连通,基座板内部安装有玻璃层,玻璃层后侧的基座板内安装有金属膜,金属膜内安装有测量膜。
 
  作为本发明进一步的方案:不锈钢壳体前端与前盖连接方式为螺钉连接、螺纹连接、激光冷焊接中的一种。不锈钢筒和取压接头外部通过激光冷焊固定套固定。固定环外侧的法兰盘上开设有若干螺栓孔。测量膜连接传输电缆,传输电缆穿过不锈钢筒、取压接头与不锈钢壳体内的芯片组连接。
 
  与现有技术相比,本发明的有益效果是:一种单法兰电容式液位变送器,透过玻璃视窗方便读取数字显示器上测量参数数值,增加连接结构的牢固性;通过螺栓穿过螺栓孔将法兰盘固定在待测量罐体上,装配方便快捷;具有结构紧凑、耐腐蚀、抗振动、抗冲击、测量精确的特点。
 
  如需进一步了解,请下载该专利完整说明书。
 
  更多仪表技术专利最新动态,请持续关注
相关资料下载:一种单法兰电容式液位变送器.pdf
相关阅读:
今日焦点 Hot
本周热点

询价规则     |     报价规则     |     服务条款     |     法律声明

Copyright 2014-2025 www.gzcd88.com 广州橙电网络科技有限公司 版权所有 粤ICP备15096921号-2

期待您的反馈

你的需求是我的使命,你的建议的是我们的动力

关注橙电采购平台官方微信 - 橙电君