手机橙电

欢迎来到橙电平台

登录 免费注册

  创意无极限,仪表大发明。今天为大家介绍一项国家发明授权专利——一种恒定湿热试验箱

要闻     2017-12-27 11:32:18         中国仪表网

  创意无极限,仪表大发明。今天为大家介绍一项国家发明授权专利——一种恒定湿热试验箱

  创意无极限,仪表大发明。今天为大家介绍一项国家发明授权专利——一种恒定湿热试验箱。该专利由合肥风生水起信息科技有限公司申请,并于2017年12月15日获得授权公告。
 
  内容说明
 
  本发明属于一种试验装置,具体涉及一种试验准确度高、适用范围光的恒定湿热试验箱。
 
  发明背景
 
  恒定湿热试验箱是航空、汽车、家电、科研等领域必备的测试设备,用于测试和确定电工、电子及其他产品及材料进行恒定试验的温度环境下的参数及性能。
 
  但是现有技术的恒定湿热试验箱存在着各种的缺陷影响试验:1、试验腔都是单腔,一个进风孔进风,一个回风口回风,容易在试验腔中形成风流死角,造成试样所受环境影响条件不同,但试验设备较小时,只能在托架上放置一层试样,降低试验箱的利用率;2、只用一台风机给试验腔供风,试验腔的风流速度较慢,进风孔和出风口环境差异较大,试验数据不准确;3、加湿加热装置与试验箱体一体机设置,当设备某一部分损坏时,必须停止试验,无法快速更换,检修不方便。
 
  发明内容
 
  本发明的目的在于提供一种可以为试验人员节约成本,便于试验设备检修,可以提高试验箱中风流循环速度,避免出现风流死角,试验准确度高的恒定湿热试验箱。
 

 
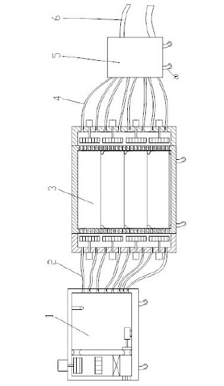
图为本发明总体结构示意图
 
  本发明技术方案一种恒定湿热试验箱,包括加湿加热装置、试验箱、集气箱,加湿加热装置、试验箱、集气箱之间设置有输气管一、输气管二、输气管三连接,加湿加热装置、试验箱、集气箱底部均设置有万向轮,加湿加热装置箱体中设置有隔板,隔板将加湿加热装置箱体分割成回风通道和出风箱两部分,隔板上端设置有出风口,隔板下端设置有回风口,回风通道内设置有离心风机、加热器、加湿器,回风通道内正对出风口设置有离心风机,离心风机和加湿器之间设置有加热器,加湿器位置在回风口上侧,离心风机由回风电机带动,出风箱中设置有湿热传感器,加湿加热装置的出风箱中设置有液压缸,液压缸的活塞杆端部固接有回风口挡板,回风通道内正对回风口位置在加湿加热装置箱体上设置有进风孔,加湿加热装置箱体上正对隔板的一侧面还设置有通风孔一,试验箱包括压风装置、试验箱体和抽风装置,试验箱体一侧固接有压风装置,另一侧固接有抽风装置,试验箱体内均匀设置有至少两层的托架,托架由固接在试验箱体上的托架凸台支撑,压风装置包括压风电机、压风轴流风机、通风孔二和压风装置体,压风装置体远离试验箱体一外侧面均匀设置有压风电机,每个压风电机周围均设置有至少两个的通风孔二,压风电机带动压风轴流风机压风,抽风装置包括抽风电机、抽风轴流风机、通风孔五和抽风装置体,抽风装置体远离试验箱体一外侧面均匀设置有抽风电机,每个抽风电机周围均设置有至少两个的通风孔五,抽风电机带动抽风轴流风机抽风。
 
  所述托架为钢筋网状结构,托架凸台在试验腔每层每侧均设置有至少两个。托架将试验箱分割成至少三个的试验腔,每个试验腔靠近压风装置和抽风装置均均匀设置有通风孔三和通风孔四。压风电机和压风轴流风机正对试验腔设置,每个试验腔靠近压风装置端部均设置有通风孔三。抽风电机和抽风轴流风机正对试验腔设置,每个试样腔靠近抽风装置端部均设置有通风孔四。
 
  本发明技术方案的一种恒定湿热试验箱,包括加湿加热装置、试验箱、集气箱,加湿加热装置、试验箱、集气箱没有设置一体机式,方便了设备的维修,对于设备只需备用一个加湿加热装置即可,各装置底部均设置有万向轮,可以为设备的搬运、更换提供方便,加湿加热装置内设置的液压缸可以起到回风口开关的作用,在试验开始之间缩回活塞杆带动回风口挡板回撤,加湿加热开动离心风机,湿热传感器检测的环境温度、湿度达到要求时活塞杆伸出,关闭回风口,风流通过通风孔一、进风孔循环,可以为试验提供更加稳定的恒定湿热气流,试验箱内的托架可以根据试验试样的体积大小取下,当试验试样体积无法在一个试验腔中承载时,可以根据试样体积取下托架,满足试验的要求,扩大试验箱的适用范围,托架呈网状结构,避免了试样接触托架面接触环境不均匀,对试验产生误差,试验箱包括压风装置、试验箱体、抽风装置,压风装置的压风轴流风机对试样箱的每个试验腔压风,并且抽风装置对每个试验腔进行抽风,使试验腔中的空气循环加快,避免出现风流死角,提高试验的准确度。
 
  本发明技术有益效果:本发明技术方案的一种恒定湿热试验箱,回风口设置的回风口挡板可以在试验前把出风箱中的空气环境加湿加热到所需的湿度和温度,为试验提供连续的恒定湿热空气;分层式的设计,每个试验腔均设置有压风轴流风机和抽风轴流风机,并且托架为网状结构,不仅提高了试验腔环境的循环速度,而且避免了试样与托架接触面与风流的接触不充分影响试验结果;加湿加热装置与试验箱体之间分开设置,方便了试验设备的检修,并且减少了别用设备,降低生产成本;托架可以根据试样的体积安装,提高了试验箱的适用范围,为试验工作人员提供方便。
 
  如需进一步了解,请下载该专利完整说明书。
 
  更多仪表技术专利最新动态,请持续关注
相关资料下载:一种恒定湿热试验箱.pdf
相关阅读:
今日焦点 Hot
本周热点

询价规则     |     报价规则     |     服务条款     |     法律声明

Copyright 2014-2025 www.gzcd88.com 广州橙电网络科技有限公司 版权所有 粤ICP备15096921号-2

期待您的反馈

你的需求是我的使命,你的建议的是我们的动力

关注橙电采购平台官方微信 - 橙电君