手机橙电

欢迎来到橙电平台

登录 免费注册

  创意无极限,仪表大发明。今天为大家介绍一项国家发明授权专利——一种基于高掺锗光纤微型测温探头的高温传感器

要闻     2017-12-25 11:31:56         中国仪表网

  创意无极限,仪表大发明。今天为大家介绍一项国家发明授权专利——一种基于高掺锗光纤微型测温探头的高温传感器

  创意无极限,仪表大发明。今天为大家介绍一项国家发明授权专利——一种基于高掺锗光纤微型测温探头的高温传感器。该专利由中国计量大学申请,并于2017年12月15日获得授权公告。
 
  内容说明
 
  本发明属于光纤高温传感技术领域,具体涉及一种基于高掺锗光纤微型测温探头的高温传感器。
 
  发明背景
 
  光纤温度传感器相比热电偶温度传感器,探头更为小巧,对电磁干扰免疫,使用寿命更长,而且适宜于测量微小的温度变化,近年来对其的相关研究不断深入。
 
  目前,基于光纤光栅和长周期光纤光栅的各类温度传感器已在特殊领域内实际应用,但是光纤光栅的温度灵敏度较低,通常仅在10pm/°C左右;长周期光纤光栅虽然温度灵敏度有所提升但是对光纤弯曲和外界折射率也非常敏感,无法避免其他因素的交叉敏感。此外,两者在探头体积上都无法满足温度“点”测量的要求。
 
  高掺锗光纤纤芯内锗的掺杂浓度极高,热光系数较普通硅光纤更高,热敏感性好,可承受600°C的高温,同时纤芯和包层的折射率差较大,有利于制作体积更为小巧的测温探头。
 
  发明内容
 
  针对现有技术的不足,本发明的目的在于提供一种基于高掺锗光纤微型测温探头的高温传感器。创新地极短长度的高掺锗光纤通过蝶形熔接的方式熔接在单模光纤的端面,利用高掺锗光纤纤芯与包层之间较大的折射率差,在探头长度极短的情况下获得适当的自由光谱范围,改变蝶形熔接的参数起到增强干涉对比度的作用。由此构成一种结构新颖的微型测温探头的高温传感器,测温上限在600°C左右,施用于温度“点”测量应用。
 

 
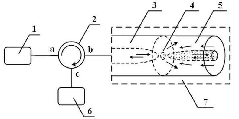
图为本发明的结构示意图。
 
  一种基于高掺锗光纤微型测温探头的高温传感器,其特征在于:由宽带光源(1) ,光纤环行器(2) ,单模光纤(3) ,蝶形锥(4) ,高掺锗光纤(5),光纤光谱仪(6)和高温恒温试验箱(7)组成;宽带光源(1)与光纤环行器(2)的a端口相连,光纤环行器(2)的b端口与单模光纤(3)的左端相连;单模光纤(3),蝶形锥(4)和高掺锗光纤(5)依次相连构成了微型测温探头,一起置于高温恒温试验箱(7)中;光纤环行器(2)的c端口与光纤光谱仪(6)相连。高掺锗光纤(5)的长度为0 .7mm~1mm,纤芯直径为3μm,纤芯内GeO2的掺杂浓度为98%。蝶形锥(4)的锥区直径为70μm~80μm,锥区长度75μm~85μm,球形纤芯的半径为20μm~25μm。
 
  本发明的工作原理是来自宽带光源(1)的入射光从光纤环行器(2)的a端口到b端口入射单模光纤(3)。当光传输至蝶形锥(4)时,模场失配导致部分光进入高掺锗光纤(5)的包层内传输形成包层模,另一部分光作为纤芯模在高掺锗光纤(5)的纤芯内传输。两者在高掺锗光纤(5)平整的端面发生菲涅尔反射,包层模进而被蝶形锥(4)回收,从而与纤芯模之间发生Michelson干涉。反射的光信号从光纤环行器(2)的b端口到c端口被光纤光谱仪(6)CN 107478354 A接收和解调。
 
  该Michelson干涉光谱的自由光谱范围(FSR )取决于包层模、纤芯模之间的光程差,如下式所示:
 

 
  (1)式中,Δneff为包层模和纤芯模的有效折射率差,L为高掺锗光纤(5)的长度,λ为入射光波长。高掺锗光纤(5)的Δneff大于普通硅光纤,在L极短的情况下也能够获得适当的自由光谱范围。蝶形锥(4)的形状左右对称,两侧为两个尖锥,中间为球形纤芯。纤芯模经过蝶形锥(4)时,在模场失配的作用下激励出包层模进入高掺锗光纤(5)的包层。当包层模反射回蝶形锥(4)时,在球形纤芯的会聚作用下耦合进入单模光纤(3)的纤芯。该结构可通过改变制作参数和球形纤芯的直径调整纤芯与包层之间的能量耦合比,起到提高干涉对比度和信噪比的作用。
 
  当温度变化时,包层模和纤芯模之间的光程差会在高掺锗光纤(5)的热膨胀和热-光效应作用下发生改变,因此能够观测到Michelson干涉光谱跟随温度变化发生波长漂移。通过监测波长漂移获得的温度灵敏度可表示为:
 

 
  (2)式中,dL/LdT为高掺锗光纤(5)的热膨胀率,dΔneff/ΔneffdT为不同包层模有效折射率的温度敏感性。可知,Michelson干涉光谱的波长漂移与温度之间存在线性关系,这有利于提高高温传感的灵敏度。
 
  本发明的有益效果是:(1)高掺锗光纤纤芯与包层之间的折射率差较大,探头极短长度下自由光谱范围较小,制成一种微型测温探头,特别适用于温度的“点”测量;(2)调整蝶形锥(4)的参数可以方便地控制纤芯与包层的能量耦合比,大幅提升了该新型光纤高温传感器的信噪比和波长检测的准确性。因此,本发明的突出优点是探头体积极其小巧,灵活性高,良好的信噪比和灵敏度,特别适用于温度的“点”测量。
 
  如需进一步了解,请下载该专利完整说明书。
 
  更多仪表技术专利最新动态,请持续关注
相关资料下载:一种基于高掺锗光纤微型测温探头的高温传感器.pdf
相关阅读:
今日焦点 Hot
本周热点

询价规则     |     报价规则     |     服务条款     |     法律声明

Copyright 2014-2025 www.gzcd88.com 广州橙电网络科技有限公司 版权所有 粤ICP备15096921号-2

期待您的反馈

你的需求是我的使命,你的建议的是我们的动力

关注橙电采购平台官方微信 - 橙电君