手机橙电

欢迎来到橙电平台

登录 免费注册

  创意无极限,仪表大发明。今天为大家介绍一项国家发明授权专利——一种基于RFID智能电能表的生产过程监造方法

要闻     2017-12-23 11:50:35         中国仪表网

  创意无极限,仪表大发明。今天为大家介绍一项国家发明授权专利——一种基于RFID智能电能表的生产过程监造方法

  创意无极限,仪表大发明。今天为大家介绍一项国家发明授权专利——一种基于RFID智能电能表的生产过程监造方法。该专利由哈尔滨电工仪表研究所申请,并于2017年12月12日获得授权公告。
 
  内容说明
 
  本发明是物联网RFID技术在智能仪表自动化生产过程监控的应用。
 
  发明背景
 
  电网安全是国民经济稳定运行以及国家安全的重要保证,电力设备的产品质量一直是电力生产非计划停运的主要原因,所以国家推出了一系列关于电力设备生产监造的文件要求,如《国家电力公司电力设备监造实施办法》等等,智能电能表也在其中之列。对智能电能表的监造一般都是由有电力监造资质的技术员到设备制造厂对产品制造进行全过程监控,并进行相关数据记录,存在的问题是生产数据不能及时上报,有时候数据受到人为因素影响,不够准确,并且工作时间长,异地出差,成本高。
 
  近年来智能电能表在国家智能制造产业政策的推动下,自动化程度超过80%,通过技术手段实现远程监造的条件具有可行性,本发明就是通过RFID技术实现RFID智能电能表的远程监造的方法,产品生产数据实时上传到云服务平台,实现现场无人监造,提高了工作效率,降低了成本。
 
  发明内容
 
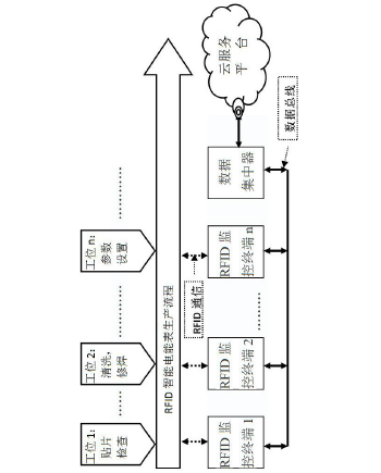
  本发明物理硬件包括RFID监控终端、数据总线、数据集中器,其中RFID监控终端包括自主安全射频模块、核心控制模块、电源模块和总线模块,核心控制模块采用A R MCortex-M3处理器,射频模块以Indy R2000芯片为核心。
 

 
图为一种基于RFID智能电能表的生产过程监造方法结构示意图。
 
  在RFID智能电能表生产制造过程中,从生产的第一道工序到最后加工成成品的整个生产制造流程中,会涉及到多种不同的制造过程信息如:人员信息、物料信息、设备信息、工装工具信息、制造执行信息等。
 
  本发明采用多个由总线连接的RFID监控终端安放在电能表自动生产过程的关键工位上,RFID监控终端通过与生产的电能表电路板上RFID芯片通信实现生产数据信息的信息交换,RFID监控终端同时将生产数据信息通过其连接的数据总线传到数据集中器中,数据集中器中通过无线公网上传到云服务平台,实现生产流程的全过程监控。
 
  RFID智能电能表在生产初始阶段(电路板贴片)最先焊接RFID芯片,这样电能表电路板具有了可实现数据通信和存储能力,将RFID监控终端固定在生产流程关键的工位上,通过手持机或者数据总线对RFID监控终端的工位信息进行设定,包括生产线编号、设备信息、工装工具信息、制造执行信息、工位内容,人员编号等等,当流水线将含电路板的电能表(未成形)通过RFID监控终端工位时,RFID监控终端会将对应的工位信息等内容写入到RFID芯片的存储器中,同时将仪表RFID芯片的唯一标识码读到RFID监控终端中,并实时将通过该位置的RFID智能电能表的RFID标识码和对应的该工位信息等内容打包通过总线传输数据集中器,由数据集中器上传到云服务平台,电力监管人员据此可以建立电能表生产电子档案,实时调用云服务平台中的制造信息,实现的对电能表生产制造过程的监控和管理。
 
  本发明的有益效果为,本发明通过RFID监控终端对电能表RFID芯片的数据交换实现对每个电能表生产制造流程相关制造信息的掌握,使电力用户可以对各个电能表建立资产档案,方便查询和备案,实现了对电能表制造流程的远程监控。本发明具有生产制造信息准确实时,数据不受人为因素影响,系统独立运行,生产数据信息制造商不能改动,可信性高。
 
  如需进一步了解,请下载该专利完整说明书。
 
  更多仪表技术专利最新动态,请持续关注
相关资料下载:一种基于RFID智能电能表的生产过程监造方法.pdf
相关阅读:
今日焦点 Hot
本周热点

询价规则     |     报价规则     |     服务条款     |     法律声明

Copyright 2014-2025 www.gzcd88.com 广州橙电网络科技有限公司 版权所有 粤ICP备15096921号-2

期待您的反馈

你的需求是我的使命,你的建议的是我们的动力

关注橙电采购平台官方微信 - 橙电君