手机橙电

欢迎来到橙电平台

登录 免费注册

  创意无极限,仪表大发明。今天为大家介绍一项国家发明授权专利——一种防凝结耐高温的压力表

要闻     2017-12-22 11:48:04         中国仪表网

  创意无极限,仪表大发明。今天为大家介绍一项国家发明授权专利——一种防凝结耐高温的压力表

  创意无极限,仪表大发明。今天为大家介绍一项国家发明授权专利——一种防凝结耐高温的压力表。该专利由无锡市凯丰压力表有限公司申请,并于2017年12月15日获得授权公告。
 
  内容说明
 
  本发明涉及压力表技术领域,具体为一种防凝结耐高温的压力表。
 
  发明背景
 
  压力表是指以弹性元件为敏感元件,测量并指示高于环境压力的仪表,应用极为普遍,它几乎遍及所有的工业流程和科研领域,在热力管网、油气传输、供水供气系统、车辆维修保养厂店等领域随处可见,尤其在工业过程控制与技术测量过程中,由于机械式压力表的弹性敏感元件具有很高的机械强度以及生产方便等特性,使得机械式压力表得到越来越广泛的应用,压力表通过表内的敏感元件(波登管、膜盒、波纹管)的弹性形变,再由表内机芯的转换机构将压力形变传导至指针,引起指针转动来显示压力。
 
  压力表在日常生活中使用广泛,现有的压力表在使用时,不具备防凝结耐高温的功能,由于现有的压力表在安装被测介质通道上,因温度过高或凝结导致压力表会出现损坏的现象,不方便使用者的使用,降低了压力表的实用性。
 
  发明内容
 
  针对现有技术的不足,本发明提供了一种防凝结耐高温的压力表,具备防凝结耐高温的等优点,解决了现有压力表在使用时不具备防凝结耐高温的问题。
 

 
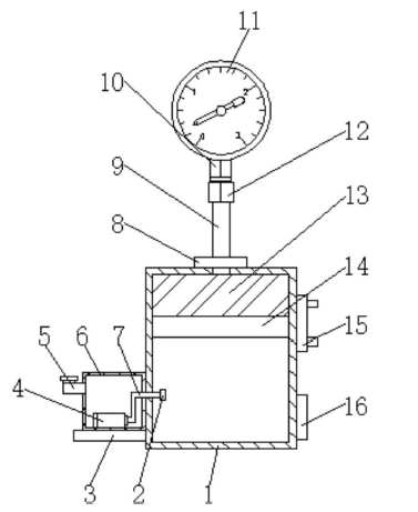
图为本发明结构示意图
 
  为实现上述防凝结耐高温的目的,本发明提供如下技术方案:一种防凝结耐高温的压力表,包括保护箱,保护箱内腔的顶部固定连接有密封塞,密封塞的顶部设置有防冻液,保护箱的顶部连通有连接管,连接管的顶部固定连接有螺套,螺套的顶部安装有螺栓,螺栓的表面与螺套的内腔螺纹连接,螺栓的顶部安装有压力表本体,保护箱左侧的底部固定连接有水箱,水箱内壁的底部固定连接有水泵,水泵的输出端连通有喷管,喷管的右侧依次贯穿水箱和保护箱并连通有喷头,水箱左侧的顶部连通有入水口;保护箱右侧的顶部固定连接有控制器,控制器的输入端单向电性连接有发射模块,发射模块的输入端单向电性连接有信息处理器,信息处理器的输入端单向电性连接有温度感应器,控制器的输出端单向电性连接有水泵。
 
  水箱的底部固定连接有承载台,承载台的右侧与保护箱的左侧固定连接。优选的,入水口的顶部活动连接有盖板,且盖板底部的横截面积大于入水口顶部的横截面积。优选的,保护箱顶部与连接管底部的连接处通过密封圈固定连接。优选的,压力表本体的正表面设置有刻度纹,压力表本体正表面的中心处活动连接有指针。
 
  与现有技术相比,本发明提供了一种防凝结耐高温的压力表,具备以下有益效果:1、本发明通过设置保护箱、喷头、承载台、水泵、入水口、水箱、喷管、密封圈、连接管、螺栓、压力表本体、螺套、防冻液、密封塞、控制器、温度感应器、信息处理器和发射模块的配合使用,解决了现有的压力表在使用时,由于压力表安装在被测介质通道数,因温度过高过低或凝结导致压力表会出现损坏的问题,方便了使用者的使用,提高了压力表的实用性。2、本发明通过设置承载台,提高了水箱工作时的稳定性,避免了因缺乏固定装置,导致水箱会出现脱落的状况,通过设置盖板,防止外界杂物会进入水箱内,从而会对水箱内的水源产生污染,通过设置密封圈,提高了连接管与保护箱之间的密封效果,提高了工作的准确性,通过设置刻度纹,方便使用者观察压力的反应,方便了使用者的使用。
 
  如需进一步了解,请下载该专利完整说明书。
 
  更多仪表技术专利最新动态,请持续关注
相关资料下载:一种防凝结耐高温的压力表.pdf
相关阅读:
今日焦点 Hot
本周热点

询价规则     |     报价规则     |     服务条款     |     法律声明

Copyright 2014-2025 www.gzcd88.com 广州橙电网络科技有限公司 版权所有 粤ICP备15096921号-2

期待您的反馈

你的需求是我的使命,你的建议的是我们的动力

关注橙电采购平台官方微信 - 橙电君