手机橙电

欢迎来到橙电平台

登录 免费注册

  创意无极限,仪表大发明。今天为大家介绍一项国家发明授权专利——基于TDC7200与TDC1000的超声波燃气表测量装置

要闻     2017-12-21 11:56:48         中国仪表网

  创意无极限,仪表大发明。今天为大家介绍一项国家发明授权专利——基于TDC7200与TDC1000的超声波燃气表测量装置

  创意无极限,仪表大发明。今天为大家介绍一项国家发明授权专利——基于TDC7200与TDC1000的超声波燃气表测量装置。该专利由辽宁航宇星物联仪表科技有限公司申请,并于2017年12月15日获得授权公告。
 
  内容说明
 
  本发明涉及燃气测量装置领域,特别是基于TDC7200与TDC1000的超声波燃气表测量装置。
 
  发明背景
 
  传统的燃气表经过长时间的改进,技术较为成熟,但其结构复杂、体积大,超声波燃气表采用全电子式,无机械部分,不受机械磨损、故障影响,产品的可靠性和精度进步很多。体积小、重量轻、重复性好、使用寿命长、智能化。全电子式的结构,可以拓展其他功能,如无线抄表功能等。目前,超声波燃气表在我国才刚刚起步,各方面技术还不成熟,并且成本较高,因此并未大量推广使用。
 
  发明内容
 
  本发明的目的是针对目前燃气流量测量的需要,提出了基于TDC7200与TDC1000的超声波燃气表测量装置,降低超声波燃气流量测量成本以及提高流量测量精度。
 

 
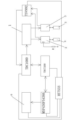
图为本测量装置电路原理图。
 
  采用的技术方案是:基于TDC7200与TDC1000的超声波燃气表测量装置,包括时间-数字转换器TDC7200和超声波感测模拟前端TDC1000。时间-数字转换器TDC7200连接超声波感测模拟前端TDC1000,超声波感测模拟前端TDC1000还连接激励脉冲升压电路,激励脉冲升压电路连接第一模拟开关和第二模拟开关,第一模拟开关连接第一超声波换能器,第二模拟开关连接第二超声波换能器。
 
  第一模拟开关和第二模拟开关还连接前置放大电路TSV992,前置放大电路TSV992连接超声波感测模拟前端TDC1000。微控制器MSP430F5438A连接时间-数字转换器TDC7200。HT7533电源给微控制器MSP430F5438A、时间-数字转换器TDC7200、超声波感测模拟前端TDC1000和前置放大电路TSV992提供工作电压。采用时间-数字转换器TDC7200与超声波感测模拟前端TDC1000实现超声波飞行时间的测量。利用两个模拟开关ISL43140实现超声波发送信号通道与接收信号通道的切换,避免了电路非对称性误差。通过微控制器MSP430F5438A编程控制TDC7200产生启动测量信号,触发TDC1000开始工作。在发送信号链路中,本装置中的超声波激励信号由T D C 1 0 0 0产生,再经过由ISL97519、TPS2811和2N7002构成的激励脉冲升压电路提高超声波发射信号的功率,经过两个模拟开关后驱动一个超声波换能器发射超声波信号。在接收信号链路中,另一个超声波换能器接收到超声波信号后,经过对应的模拟开关进入由高速运放TSV992构成的前端放大电路部分,超声波接收信号经过前端放大之后再进入由TDC1000构成的放大和滤波部分,在TDC1000内部的阈值比较器产生有效的超声波接收信号,最后由时间-数字转换器TDC7200计算测量超声波飞行时间,通过时差法测量流量,并通过外部中断方式通知微控制器MSP430F5438A处理超声波飞行时间数据,并通过液晶显示流量等信息。MSP430F5438A微控制器与时间-数字转换器TDC7200采用SPI协议通信,其内容主要初始化TDC7200配置寄存器、启动测量和读取时间值。在定时中断程序中实现模拟开关的切换以及TDC7200启动测量的控制,当接收到超声波接收信号时,T D C 7 2 0 0会以外部中断的方式提醒微控制MSP430F5438A及时处理外部数据,在外部中断程序中读取TDC7200寄存器中的测量时间值并保存。
 
  MSP430F5438A为TI公司的MSP430超低功耗单片机与超声波流量测量电路构成一个燃气流量测量装置。超声波流量测量电路包括高精度时间-数字转换器TDC7200、集成超声波感测模拟前端TDC1000、激励脉冲升压电路、两个高速模拟开关ISL43140和高速运放TSV992。计时采用时间-数字转换器TDC7200,分辨率为55ps,可测量START脉冲与多个STOP脉冲之间的时间间隔(TOF),灵活选择最佳的STOP脉冲,提高测量精度。超声波感测模拟前端TDC1000实现超声波激励信号的产生、超声波接收信号的滤波放大及阈值比较、START与STOP事件的产生。
 
  在该测量电路中,采用双高速MOSFET驱动器TPS2811和场效应管2N7002提高了超声波激励信号的电压及功率。测量电路中采用高速模拟开关ISL43140实现超声波激励链路与超声波接收链路的切换,从而实现超声波上行与下行的时间测量。测量电路中的前端放大电路TSV992,在显示方面,该装置采用液晶显示相关流量、累计量及其他必要信息。采用高精度时间数字-转换器TDC7200并配合超声波感测模拟前端TDC1000实现超声波飞行时间的测量。TDC7200支持两种12ns到500ns和250ns到8ms两种测量模式,分辨率为55ps,低功耗状态0 .5μA,支持多个STOP脉冲时间测量。启动一次测量过程中,TDC1000先产生与超声波激励信号同步的脉冲信号,然后在接收到有效超声波接收信号时再产生接收脉冲信号,通过TDC7200测量上述脉冲之间的时间得到超声波飞行时间。针对超声波信号易受干扰的问题,系统计算多个超声波接收信号的飞行时间,数据处理时灵活选择合理的超声波接收信号进行分析。
 
  采用TDC1000超声波感测模拟前端的内部低噪声放大器、可编程放大器以及可编程阈值比较器实现对超声波接收信号的放大、滤波和阈值比较。利用TDC1000可编程且具有灵活性的特点,在测量过程中,灵活调整增益放大器的增益与比较器的阈值,以此提高超声波接收信号的质量。TDC1000内部可编程放大器最大增益为21dB,通常情况下系统采用较低增益即可得到较好的超声波接收信号。然后在测量过程中根据实时的流量测量结果分析,通过MSP430F5438A编程控制TDC1000调整放大倍数和比较阈值,最后得到准确的STOP信号。
 
  为得到较好的超声波接收信号,采用了驱动激励脉冲升压电路,将峰峰值为3 .3V的超声波激励脉冲提高到峰峰值为12V的超声波激励脉冲。超声波激励脉冲从3 .3V到12V需要经过两个过程,3 .3V激励脉冲先经过高速N沟道MOSFET和2N7002构成的相关电路产生6V激励脉冲,再经过高速MOSFET驱动器TPS2811产生两个极性相反的6V激励脉冲,将两个极性相反的脉冲分别送入超声波换能器的两个输入端,在超声波换能器两端产生峰峰值为12V的激励脉冲。采用两个高速模拟开关ISL43140分别控制超声波发送通道与超声波接收通道的切换,系统工作时通过MSP430F5438A编程控制模拟开关ISL43140的开关控制引脚实现。为了减少较高电压的驱动信号对接收链路信号质量产生影响,发射通道与接收通道采用各自独立的模拟开关控制电路。并且针对ISL43140模拟开关通道间的信号串扰问题,在第一模拟开关之后的接收信号链路上加上一个阻值为560欧姆的电阻R,极大的提高了接收信号的质量。
 
  采用高速运算放大器TSV992实现对超声波接收信号的前端放大。针对超声波换能器具有一定阻抗的问题,必须合理设计前置放大器才能有效的放大微弱的超声波接收信号。前置放大器的放大倍数约为30倍。
 
  其优点在于:基于TDC7200与TDC1000的超声波燃气表测量装置,降低超声波燃气流量测量成本以及提高流量测量精度。
 
  如需进一步了解,请下载该专利完整说明书。
 
  更多仪表技术专利最新动态,请持续关注
相关资料下载:基于TDC7200与TDC1000的超声波燃气表测量装置.pdf
相关阅读:
今日焦点 Hot
本周热点

询价规则     |     报价规则     |     服务条款     |     法律声明

Copyright 2014-2025 www.gzcd88.com 广州橙电网络科技有限公司 版权所有 粤ICP备15096921号-2

期待您的反馈

你的需求是我的使命,你的建议的是我们的动力

关注橙电采购平台官方微信 - 橙电君