手机橙电

欢迎来到橙电平台

登录 免费注册

  创意无极限,仪表大发明。今天为大家介绍一项国家发明授权专利——一种适用于工业现场的三轴压电式一体化振动变送器

要闻     2017-12-19 11:35:40         中国仪表网

  创意无极限,仪表大发明。今天为大家介绍一项国家发明授权专利——一种适用于工业现场的三轴压电式一体化振动变送器

  创意无极限,仪表大发明。今天为大家介绍一项国家发明授权专利——一种适用于工业现场的三轴压电式一体化振动变送器。该专利由扬州熙源电子科技有限公司申请,并于2017年12月8日获得授权公告。
 
  内容说明
 
  本发明涉及一种速度传感器,特别涉及一种三轴压电式速度传感器。
 
  发明背景
 
  工业自动化的核心是传感器,工业生产各个组成环节都需要传感器进行监控,并把数据反馈给控制中心,当出现异常时提前报警,以便及时进行预防和维护,保证工业生产正常进行。
 
  压电式速度传感器是利用压电原理制作的用于测量振动、位移、转速等参数的测量仪器,三轴压电式速度传感器可以同时测量三个方向的振动信号,应用于发电、钢铁、冶金、化工、轨道交通等工业领域内的旋转和往复运动等相关的机械设备的测量。
 
  目前,工业现场使用的三轴速度传感器输出的信号是电压信号,在复杂的工业环境下因为各种工业电气噪音干扰,传感器输出的信号传送到控制中心时往往叠加了各种干扰信号,直接将其送入数据采集终端进行模数转换,实际精度和线性度大受影响;另外,工业现场往往需要将传感器输出的信号通过很长的传输线进行传输,传输线的电阻会产生电压降,那么接受端的信号就会产生误差;还有,工业现场环境复杂,往往出现现场接地不可靠的问题,此时传感器的输出信号就会不稳定,出现偏差。
 
  发明内容
 
  本发明的目的是提供一种适用于工业现场的三轴压电式一体化振动变送器,解决工业现场三轴速度传感器输出电压信号干扰严重、电压信号误差较大、信号传输不稳定的问题,使得检测到的速度数据更加稳定可靠。
 

 
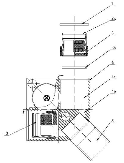
图为本发明装配示意图。
 
  本发明的目的是这样实现的:一种适用于工业现场的三轴压电式一体化振动变送器,包括方形三维坐标外壳,方形三维坐标外壳上沿X轴、Y轴、Z轴方向分别开设有放置敏感组件的凹槽,凹槽内设置有敏感组件,且敏感组件经隔离板封闭在凹槽内;敏感组件包括套设在隔离罩内的基座,基座中心加工有垂直于基座的支撑板,支撑板上贯穿设置有螺栓,螺栓位于支撑板两侧的部分对称设置,螺栓外周套设有衬套,衬套的外周沿螺栓轴向从螺栓中部到螺栓两端依次套设有导电片、晶体片、导电片以及质量块,螺栓的端部螺纹连接有限位螺母,隔离罩内位于敏感组件上方还设置有连接导电片的信号调理电路,方形三维坐标外壳上还设置有与信号调理电路相连的连接器。
 
  作为本发明的进一步限定,信号调理电路包括:放大电路,用以将来自敏感组件的高阻抗电信号调理成低阻抗信号,并放大处理;精密积分转换电路,将放大后的交流加速度信号转化成交流速度信号;交直流转换电路,将交流速度信号转化为直流速度信号;归一化调整电路,将直流速度信号进行归一化调整后输出标准的直流速度信号;电压电流转换电路,将标准的直流速度信号转化为标准的电流信号,最终输出。
 
  作为本发明的进一步限定,放大电路将从敏感组件采集到的高阻抗电荷信号调理成低阻抗的电压信号并通过运算放大器放大处理,同时对低频下限频率进行展宽,稳定低频特性,最终输出加速度交流电压信号;精密积分转换电路利用电容器的储能特性与运算放大器组成的精密积分器,实现同相积分,将加速度交流电压信号转换成速度交流电压信号输出;放大电路和精密积分转换电路中运算放大器共用TLV2262双低压运算放大器,其中,TLV2262的1脚作为放大电路的输出端,经电阻R4、电容C1与TLV2262的6脚相连,TLV2262的2脚经电阻R2接敏感组件的一端,敏感组件的另一端连隔离罩,TLV2262的2脚还通过电阻R3与1脚相连,TLV2262的4脚连接在隔离罩上,TLV2262的6脚还经电阻R5与TLV2262的7脚相连,电阻R4与电容C1之间的电极点经电容C2与TLV2262的7脚相连,TLV2262的7脚作为精密积分转换电路的输出端与交直流转换电路输入端相连。
 
  作为本发明的进一步限定,交直流转换电路将速度交流电压信号经过LTC1967CMS8精密扩展带宽交直流转换器以及外围电路组成的转换模块转换成速度直流电压信号输出;LTC1967CMS8的1脚与8脚相连接在隔离罩上,LTC1967CMS8的2脚作为交直流转换电路的输入端,经电容C3接TLV2262的7脚,LTC1967CMS8的3脚经电容C5接LTC1967CMS8的6脚,LTC1967CMS8的5脚经电容C4LTC1967CMS8的6脚,LTC1967CMS8的3脚和5脚还作为交直流转换电路的输出端。
 
  作为本发明的进一步限定,归一化调整电路将速度直流电压信号通过TLV2231低压运算放大器以及外围电路组成的调整电路进行归一化调整后输出标准的直流电压信号;TLV2231的1脚作为归一化调整电路的输入端经电阻R9接LTC1967CMS8的5脚,TLV2231的3脚也作为归一化调整电路的输入端经电阻R 8接电容C 5的一端同时与LTC1967CMS8的6脚相连,TLV2231的1脚还经电容C6连隔离罩,TLV2231的2脚连隔离罩,TLV2231的4脚作为归一化调整电路的输出端一路经电阻R12接TLV2231的3脚,另一路经电阻R13接电压电流转换电路。
 
  作为本发明的进一步限定,电压电流转换电路将标准的直流电压信号通过XTR115提供精确的电流缩放和输出电流极限函数的电流环路发射机与外围电路组成的转换电路转换成标准的4-20mA抗干扰直流电流信号;XTR115的1脚分别经电阻R1接TLV2262的3脚、经电阻R6接TLV2262的5脚、经电阻R7接LTC1967CMS8的2脚、经电容C5接LTC1967CMS8的3脚,XTR115的2脚作为电压电流转换电路的输入端连接电阻R13,XTR115的3脚连隔离罩,XTR115的4脚作为输出端输出标准的4-20mA抗干扰直流电流信号, XTR115的5脚、6脚、7脚接三极管,XTR115的7脚作为电源输入端经二极管D1接电源,XTR115的8脚作为电源输出端分别接TLV2231的5脚、LTC1967CMS8的7脚、TLV2262的8脚,XTR115的8脚还经串联的电阻R10、R11接TLV2231的3脚,XTR115的4脚与7脚之间短接有电容C7,二极管D1的正极接电源,负极接XTR115的7脚,二极管的正极还通过串联的电容C8、电容C9接XTR115的4脚,电容C8、电容C9的连接点接外壳下地。
 
  作为本发明的进一步限定,质量块外周沿螺栓轴向两侧延伸,形成包裹导电片、晶体片以及限位螺母的包边。作为本发明的进一步限定,凹槽的底部设置有隔离片,敏感组件设置在隔离片上。作为本发明的进一步限定,方形三维坐标外壳分成四块小方形结构,XCN 107449507 A轴、Y轴、Z轴三个方向的凹槽分别开设在四块小方形结构中的三块上,另一块小方形结构上设置连接器,凹槽内开设有与连接器相连接的布线通道。
 
  与现有技术相比,本发明的有益效果在于:本发明首先通过采用精密积分电路和抗干扰V/I转换设计,将传感器的速度电压信号转换成标准的4-20mA电流信号,与传统产品输出电压信号相比抗干扰能力强,适合工业现场远距离传输,传输数百米不会因为线路损耗影响精度,采用三个独立的敏感件组件将三轴独立开,组件上加隔离罩解决X、Y、Z三轴之间信号相互干扰的问题,在信号调理电路中增加了限幅电路,采用阻容吸收(即过冲信号通过电容C8、电容C9释放到外壳下地),改善系统的阻尼系数,解决信号过冲的问题;通过控制敏感件组件的绝缘,组件上加隔离罩、双层隔离(即在凹槽的顶部和底部分别设置隔离板和隔离片)设计,调整信号调理电路的分布电容,输出电缆采用双绞屏蔽电缆等方法来增强变送器的抗电磁干扰能力;在信号调理电路中增加了地干扰对地短路虚拟通道(即隔离罩),抑制了现场接地不可靠而引起的干扰影响;本发明采用精密积分信号调理电路,提高输出信号精度。本发明可用于机车上异步电机的实时监测。
 
  如需进一步了解,请下载该专利完整说明书。
 
  更多仪表技术专利最新动态,请持续关注
相关资料下载:一种适用于工业现场的三轴压电式一体化振动变送器.pdf
相关阅读:
今日焦点 Hot
本周热点

询价规则     |     报价规则     |     服务条款     |     法律声明

Copyright 2014-2025 www.gzcd88.com 广州橙电网络科技有限公司 版权所有 粤ICP备15096921号-2

期待您的反馈

你的需求是我的使命,你的建议的是我们的动力

关注橙电采购平台官方微信 - 橙电君