手机橙电

欢迎来到橙电平台

登录 免费注册

  创意无极限,仪表大发明。今天为大家介绍一项国家发明授权专利——水表抄表装置

要闻     2017-12-11 11:41:42         中国仪表网

  创意无极限,仪表大发明。今天为大家介绍一项国家发明授权专利——水表抄表装置

  创意无极限,仪表大发明。今天为大家介绍一项国家发明授权专利——水表抄表装置。该专利由芜湖职业技术学院申请,并于2017年12月8日获得授权公告。
 
  内容说明
 
  本发明涉及水表抄表装置。
 
  发明背景
 
  水表,是一种测量水的使用量的装置。常见于自来水的用户端,其度数用以计算水费的依据。水表通常总测量单位为立方英尺(ft3)或是立方米(m3)。
 
  现阶段的水表远程抄表系统将现场计量仪表及变送器的数据通过GPRS无线通讯的方式传输到监控抄表中心,在监控抄表中心对数据进行统一汇总、分析,为管理及收费提供依据。平升水表远程抄表系统广泛适用于水利、热力、燃气、石油、工矿企业等行业用户。
 
  目前无法准确实现水表的数据读取,亟需设计一种水表抄表装置。
 
  发明内容
 
  本发明的目的是提供一种水表抄表装置,该水表抄表装置克服了现有技术中无法准确实现水表的数据读取的问题,实现了水表读数的准确读取。
 

 
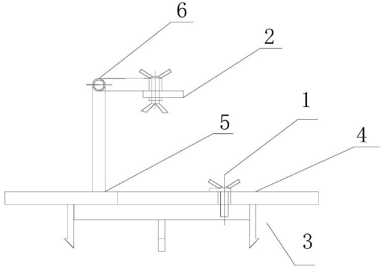
图为本发明的一种优选实施方式的水表抄表装置的结构示意图。
 
  该水表抄表装置包括脉冲发射装置、脉冲接收装置、中控器和安装支架,安装支架卡合于水表的上表面,且脉冲发射装置和脉冲接收装置固接于安装支架;脉冲发射装置朝向水表的指针所在处发送激光,在指针旋转过程中,当激光照射至空白处时,脉冲接收装置接收不到该激光,当激光照射至指针上时,脉冲接收装置能够接收到该激光,并通过中控器对接收到激光的次数进行计数后计算流量数值。
 
  安装支架包括:安装卡扣和调节机构,安装卡扣卡合于水表的上表面,且调节机构设置于安装卡扣的上方,且脉冲发射装置和脉冲接收装置设置于调节机构上,以进行位置的调节。调节机构包括:基座和架体;其中,基座的下表面固接于安装卡扣,且脉冲发射装置固接于基座,架体设置于基座上,且脉冲接收装置设置于架体上。基座呈环形结构,且脉冲发射装置所发出的激光通过基座的中心部的通孔照射至所述指针上。架体包括:垂直调节部分和水平调节部分,且垂直调节部分的一端固接于基座,另一端连接于水平调节部分的一端,水平调节部分的另一端连接有脉冲接收装置。安装卡扣包括:第一卡尺、第二卡尺和第三卡尺,第一卡尺、第二卡尺和第三卡尺固接于基座的环形结构的下表面。中控器无线连接于脉冲接收装置,且脉冲接收装置上设置有通信模块。
 
  通过上述技术方案,在不改变原有仪表结构的基础上,测量装置安装在轮式计量仪表正面透明介质(如玻璃)表面适当位置,用于接收仪表转轮的齿表面反射的激光脉冲。激光发射器发射出的激光束照射在指针的齿槽处。当激光束照射在指针上时,激光接收器接收到反射的激光,转换为高电平(或低电平)信号输出。随着指针的转动,随后激光束照射在指针的齿间槽内,激光接收器接收不到反射的激光束,故转换为低电平(或高电平)信号输出。随着指针的转动,便可接收到脉冲信号。
 
  如需进一步了解,请下载该专利完整说明书。
 
  更多仪表技术专利最新动态,请持续关注
相关资料下载:水表抄表装置.pdf
相关阅读:
今日焦点 Hot
本周热点

询价规则     |     报价规则     |     服务条款     |     法律声明

Copyright 2014-2025 www.gzcd88.com 广州橙电网络科技有限公司 版权所有 粤ICP备15096921号-2

期待您的反馈

你的需求是我的使命,你的建议的是我们的动力

关注橙电采购平台官方微信 - 橙电君