手机橙电

欢迎来到橙电平台

登录 免费注册

  创意无极限,仪表大发明。今天为大家介绍一项国家发明授权专利——辐射传感器

要闻     2017-12-09 15:21:54         中国仪表网

  创意无极限,仪表大发明。今天为大家介绍一项国家发明授权专利——辐射传感器

  创意无极限,仪表大发明。今天为大家介绍一项国家发明授权专利——辐射传感器。该专利由艾尔贝姆应用技术有限公司申请,并于2017年12月5日获得授权公告。
 
  内容说明
 
  本发明涉及辐射传感器领域。具体而言,本发明涉及一种辐射传感器,其具有用于将电信号从辐射探测器阵列路由到多个电子读出电路的电路的。
 
  发明背景
 
  包括探测器像素的一维或二维阵列的探测器通常用于在诸如核医学、放射学、放射治疗或质子治疗这样的医学应用中的辐射成像。在辐射探测器阵列中,每个像素可以适于生成指示与入射在该像素上的辐射相关的剂量测定量或辐射量的信号,电流、电荷或电位。硅二极管和电离室可以通常用于辐射探测应用的像素元件中。
 
  可以使用包括多个多通道集成电路的前端电子子系统并行地读出像素信号。在本领域已知的成像阵列中,IBA MatriXX探测器阵列,来自1024个电离室的电流可以由16个专用芯片并联整合,每个专用芯片具有64个输入通道。因此,这种成像系统还可能需要用于将信号从像素路由并切换到前端电子子系统的读出通道的有效装置。该信号路由可以影响由设备产生的图像的动态范围和图像质量,并且由于可用于路由的区域的限制,还可以影响可实现的探测器区域和像素间距。
 
  至少一个插入器印刷电路板(PCB)可以将传感器像素连接到读出芯片。所有信号线可以设置在PCB上,PCB还可以形成传感器阵列的整体部分,而读出芯片可以连接到这些信号线,使用连接器机构,以允许容易的更换和/或维护。每个读出芯片可以焊接到可以使用连接器插入插入器PCB中的小载体PCB上。
 
  美国专利申请US 2005/286682公开了一种用于辐射成像系统的探测器。该探测器模块包括用于将X射线信号转换成电信号的传感器阵列、用于将电信号转换成相应的数字信号的至少一个电子设备、以及用于将电信号从传感器阵列路由到电子设备的切换电路。用于成像应用的X射线探测器是已知的,从US 2004/0136493和US 2005/0173642。这些探测器包括像素的2D阵列。这些像素被组织为n行X m列,并且在每个像素处需要诸如FET之类的开关元件。通过顺序地寻址n个扫描行并通过m条数据线从每行的m个像素获取像素值来访问各个像素。这种设计的优点在于仅需要读出电路的m个通道。开关元件可以引入测量误差,这可能是不可接受的,尤其是当预计是弱信号值时。另外,当探测器用于高剂量应用(放射治疗机QA)或在线或离线治疗计划验证时,开关元件可能不能耐受高辐射剂量。
 
  从US 2005/139757获知了像素化光子计数模式探测器。在该探测器中,在ASIC芯片中实施的读出电路通过具有形成在第一侧上的多个焊球和形成在第二侧上的多个电触点的球栅阵列封装连接到探测器阵列。读出电路在每个像素的几何区域内。读出电路紧邻相应的探测器,并经受到相同的辐射场。
 
  将像素信号路由到前端电子设备可能是一项复杂的任务。可以优化阵列像素与读出芯片的输入通道之间的布线以简化布局和/或获得良好的性能。可以通过设计的这种优化来调整的参数是信号线的长度、线路阻抗、过孔连接数、通道之间的串扰、对电磁干扰的敏感度和电磁干扰的辐射。
 
  然而,读出电子设备的总体成本可以代表总体探测器价格的大部分,特别是对于具有许多像素的探测器。最先进的读出芯片可能是相当昂贵的,并且还可能需要安装在高级PCB上。在包括大量硅二极管像素的立体定向体辐射治疗(SBRT)成像阵列中,约2000个像素以上,读出电子设备的成本可以达到生产成本的40%左右。
 
  在探测器阵列中实现高空间分辨率和小像素间距是特别有利的。具有小像素间距的二维探测器可以用于精确测量以高辐射剂量梯度为特征的辐射场,用于立体定向放射治疗应用。然而,对于覆盖预定区域的二维探测器阵列,像素的数量与(1/间距)2成比例。因此,成本和设计复杂性也可能与(1/间距)2成比例地增加。这意味着可以在空间分辨率和设备复杂度之间寻求最佳折衷,这取决于成本与用户的利益。如果12×12cm2有源区域以3mm像素间距覆盖,则可能需要1600个通道。然而,当间距仅略微减小到2 .5mm时,这个数量就上升到2304个。对于在PCB或单片硅上实现的诸如电离室阵列的技术,像素阵列的成本主要取决于面积,而相应的读出电子设备的成本随像素数的增加而增加。
 
  发明内容
 
  本发明的实施例的目的是提供用于将信号从探测器阵列路由到多个读出设备的良好且有效的装置和方法。
 

 
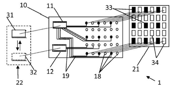
图为根据本发明的实施例的电路板。
 
  本发明的实施例的优点在于,提供了简单且便宜的装置和方法,用于调节像素化探测器的空间分辨率以适应特定应用的要求,而不会存在性能不佳(在提供过少的通道的意义上)或者不成比例的成本(在提供过多通道的意义上)的风险。
 
  上述目的通过根据本发明的方法和装置来实现。在第一方面,本发明涉及一种辐射传感器,包括:包括多个像素的辐射探测器阵列;至少两个读出连接器,其具有多个触点,每个所述读出连接器被配置为用于接收读出模块;路由电路,其具有被配置为用于将电信号从所述多个像素中的每一个路由到所述读出连接器中的一个的相应触点的导线,其中,所述多个像素被分组为两个或多个像素组,第一像素组的至少两个像素被来自辐射探测器阵列中的另一像素组的至少一个像素隔开,所述路由电路被配置为将信号从所述第一像素组的像素引导到第一读出连接器,以及将信号从所述另一像素组的像素引导到第二读出连接器。
 
  所述两组的像素在所述辐射探测器阵列中均匀分布并混合。本发明还涉及一种包括辐射探测器阵列的辐射图像传感器。辐射探测器阵列包括至少两组像素,至少两个分离的像素组。辐射图像传感器还包括对应于该至少两个像素组的至少两个读出连接器,辐射图像传感器可以包括用于每个像素组的单个不同的读出连接器。辐射图像传感器还包括电子路由电路,其被配置为用于将电信号从至少两个像素组的每一个路由到至少两个读出连接器的对应读出连接器。所述至少两个读出连接器中的每一个被配置为用于接收读出模块,使得可以通过将至少一个读出模块连接到所述至少两个读出连接器的对应的至少一个读出连接器来选择所述至少两个像素组中的每个组或组的子集。
 
  如需进一步了解,请下载该专利完整说明书。
 
  更多仪表技术专利最新动态,请持续关注
相关资料下载:辐射传感器.pdf
相关阅读:
今日焦点 Hot
本周热点

询价规则     |     报价规则     |     服务条款     |     法律声明

Copyright 2014-2025 www.gzcd88.com 广州橙电网络科技有限公司 版权所有 粤ICP备15096921号-2

期待您的反馈

你的需求是我的使命,你的建议的是我们的动力

关注橙电采购平台官方微信 - 橙电君