手机橙电

欢迎来到橙电平台

登录 免费注册

  创意无极限,仪表大发明。今天为大家介绍一项国家发明授权专利——一种具有传感器热插拔设计的气体检测变送器

要闻     2017-12-06 10:50:47         中国仪表网

  创意无极限,仪表大发明。今天为大家介绍一项国家发明授权专利——一种具有传感器热插拔设计的气体检测变送器

  创意无极限,仪表大发明。今天为大家介绍一项国家发明授权专利——一种具有传感器热插拔设计的气体检测变送器。该专利由南京艾伊科技有限公司申请,并于2017年12月1日获得授权公告。
 
  内容说明
 
  本发明属于气体检测变送器的配套设备,更具体而言,本发明涉及一种用于气体检测变送器中的一种具有传感器热插拔设计的气体检测变送器。
 
  发明背景
 
  随着工业的迅速发展,人类接触有害气体的场合越来越多,由此造成对人类本身的危害也越来越大,一次次的中毒事故,使人们清醒的认识到在发展工业的同时保护人类自身安全的重要性。因此各种有害气体报警仪渐渐成为工业安全生产中必不可少的防护设备。现有气体检测变送器的传感器部分,皆是采用隔爆设计。按照隔爆现场相关安全规范,是严禁带电开盖的。但是因为传感器有使用寿命,需要定期更换,如果更换传感器,需要先给仪表断电。在现场的仪表多是电源并联的连接方式,在给其中任意一台仪表断电时,回路其他的仪表同时也会被断电,停止危险监控。因此隔爆设计的仪表在现场更换传感器繁琐,费时费力十分不便。
 
  发明内容
 
  为解决现有气体检测变送器更换传感器时出现的断电停止危险监控和更换繁琐不便的问题,本发明提供了一种具有传感器热插拔设计的气体检测变送器。
 

 
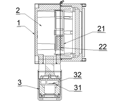
图为本发明的结构示意图
 
  一种具有传感器热插拔设计的气体检测变送器,包括变送器主体,在所述变送器主体上设有主控腔体和传感器腔体,所述主控腔体和所述传感器腔体相连接,在所述主控腔体内设有主控电路模块,所述主控电路模块中安装有安全栅电路,所述传感器腔体中设有传感器模块,所述主控电路模块与所述传感器模块电性连接并为所述传感器模块供电,所述传感器模块中设有本安电路。进一步的,所述主控腔体为隔爆腔体。进一步的,所述传感器腔体和所述变送器主体的连接处设有密封部。
 
  更进一步的,所述密封部为密封圈采用上述本发明技术方案具有以下有益效果:本发明中的主控电路模块和传感器模块都是采用本质安全设计,现场在任何情况下都不会有电火花、高温等引起点火的条件,实现现场带电开盖的要求,最终让仪表在现场更换传感器模块时,可以直接带电插拔更换,方便快捷的同时还不影响仪表设备持续进行测量和危险监控,避免监控空白。
 
  如需进一步了解,请下载该专利完整说明书。
 
  更多仪表技术专利最新动态,请持续关注
相关资料下载:一种具有传感器热插拔设计的气体检测变送器.pdf
相关阅读:
今日焦点 Hot
本周热点

询价规则     |     报价规则     |     服务条款     |     法律声明

Copyright 2014-2025 www.gzcd88.com 广州橙电网络科技有限公司 版权所有 粤ICP备15096921号-2

期待您的反馈

你的需求是我的使命,你的建议的是我们的动力

关注橙电采购平台官方微信 - 橙电君