手机橙电

欢迎来到橙电平台

登录 免费注册

  创意无极限,仪表大发明。今天为大家介绍一项国家发明授权专利——一一种超声传感器压电陶瓷晶片的耐压抗冻结构及方法

要闻     2017-12-04 14:08:49         中国仪表网

  创意无极限,仪表大发明。今天为大家介绍一项国家发明授权专利——一一种超声传感器压电陶瓷晶片的耐压抗冻结构及方法

  创意无极限,仪表大发明。今天为大家介绍一项国家发明授权专利——一一种超声传感器压电陶瓷晶片的耐压抗冻结构及方法。该专利由汇中仪表股份有限公司申请,并于2017年11月28日获得授权公告。
 
  内容说明
 
  本发明涉及一种超声传感器压电陶瓷晶片的耐压抗冻结构及方法,特别是利用超声检测技术,计量管道内液体流量或热量的转换器专用测量传感器,适用于小管径内液体流量、热量的计量,属于声学、传感器技术领域。
 
  发明背景
 
  目前,现有管道用超声流量、热量计及超声水表的超声波换能器(也称为传感器),主要由传感器外壳、晶片保护套和压电陶瓷晶片组成(也有将传感器外壳和晶片保护套合为一体,超声波传感器直接由传感器外壳和压电陶瓷晶片组成)。其中压电陶瓷晶片用于发射和接收超声波;晶片保护套用于保护压电陶瓷片在使用过程中不被划伤、磕伤;传感器外壳是整个超声波传感器的结构载体,用于和管段或其它部件连接。上述超声波传感器在实际使用中存在如下问题:在管道内高压(或管道内有负压情况)或者管道内介质结冰状况下,由于晶片保护套或传感器外壳与压电陶瓷晶片的变形系数不同,晶片保护套或传感器外壳与压电陶瓷晶片接触的部位发生变形(翘起),使得压电陶瓷晶片破碎或造成压电陶瓷晶片和传感器外壳之间形成间隙,从而造成超声波传感器损坏或发射(接收)信号强度性能明显下降,影响仪表正常测量。
 
  发明内容
 
  本发明目的是提供一种超声传感器压电陶瓷晶片的耐压抗冻结构及方法,确保在管道内介质高压情况或管道内介质有冷冻结冰现象发生时,超声波传感器的压电陶瓷晶片不会因此受到损坏而影响仪表正常测量,解决背景技术中存在的问题。
 

 
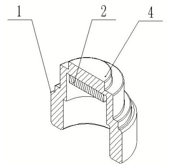
图为本实施例一结构示意图
 
  一种超声传感器压电陶瓷晶片的耐压抗冻结构,包含传感器外壳和压电陶瓷晶片,压电陶瓷晶片设置在传感器外壳内;其特别之处在于:传感器壳上设有减压结构,所述减压结构,位于传感器外壳与压电陶瓷晶片接触的部位及其周围,传感器外壳与减压结构形成一个整体结构。所述减压结构,改变传感器外壳与压电陶瓷晶片接触部位周围的平整形态,释放传感器外壳的变形应力,减小传感器外壳与压电陶瓷晶片接触部位的变形,保护压电陶瓷晶片不被损坏。
 
  所述减压结构,数量是一个及以上,可以设置在传感器外壳内表面,也可以设置在传感器外壳外表面,或者在传感器外壳内表面和外表面均设有减压结构。所述压电陶瓷晶片粘贴在传感器外壳的内表面;也可以采用卡环或螺纹固定在传感器外壳内表面。所述减压结构,有多种结构形态,包含:1、凸台减压结构:在传感器外壳与压电陶瓷晶片接触部位周围设置阶梯状凸台,阶梯状凸台的外径大于或等于压电陶瓷晶片外径。阶梯状凸台可以设置在传感器外壳内表面,也可以设置在传感器外壳外表面。 所述凸台减压结构,其形状可以是圆形,也可以是矩形、椭圆形等其他形状,但其截面轮廓要覆盖压电陶瓷晶片截面。 2、环状减压结构:在传感器外壳与压电陶瓷晶片接触部位周围设置环状沟槽,环状沟槽的内径大于或等于压电陶瓷晶片外径。环状沟槽可以设置在传感器外壳内表面,也可以设置在传感器外壳外表面。所述环状沟槽,截面是任意的,包括矩形、半圆形、三角形、梯形等形状;可以设置一条环状沟槽,也可以设置多条环状沟槽。所述环状沟槽可以是环绕整个传感器外壳连续分布,也可以是断续分布在传感器外壳上。所述传感器外壳,可以是金属棒料加工而成,也可以采用铸造、锻造等方式加工而成,还可以采用注塑形式成形。 所述减压结构既可以与传感器外壳做成一体,整体为一体结构;也可以为分体结构,分别单独制作减压结构和传感器外壳,然后用焊接、铆接、螺纹连接等方式将减压结构和传感器外壳固定在一起。
 
  由于在传感器外壳上设置了减压结构,有效地缓冲了因高压或冰冻对压电陶瓷晶片的应力影响,在超声波传感器受到高压或冰冻时,传感器外壳在减压结构处发生形变吸收外界应力,减少压电陶瓷晶片与传感器外壳接触部位的变形,保证了压电陶瓷晶片和传感器外壳之间始终牢固结合,使超声波传感器不会受到高压和冰冻的影响,始终可以稳定工作,确保了仪表的稳定测量。
 
  所包含步骤如下:在安装管道用超声流量、热量计及超声水表的超声波传感器时,将压电陶瓷晶片设置在传感器外壳内,在传感器外壳上设有减压结构,所述减压结构,位于传感器外壳与压电陶瓷晶片接触的部位及其周围,传感器外壳与减压结构形成一个整体结构;减压结构环绕在传感器外壳与压电陶瓷晶片接触部位的周围,形成对压电陶瓷晶片的防护;超声流量、热量计及超声水表在管道上使用过程中,当管道中压力变化或者产生,传感器外壳的减压结构处首先发生形变吸收外界应力,避免或减少压电陶瓷晶片与传感器外壳接触部位的变形,保证压电陶瓷晶片和传感器外壳之间始终牢固结合,使超声波传感器不会受到管道压力变化和冰冻的影响,始终稳定工作,确保仪表的稳定测量。
 
  本发明的有益效果:具有结构简单合理、耐压力高、抗冻性能强、拆装方便等特点,特别适合应用在管道内被测介质为高压情况和易发生冰冻损坏被测仪表的流量测量工况,可广泛应用于超声流量、热量计及超声水表的专用超声波传感器,尤其是适合用于防冻水表测量中。
 
  如需进一步了解,请下载该专利完整说明书。
 
  更多仪表技术专利最新动态,请持续关注
相关资料下载:一种超声传感器压电陶瓷晶片的耐压抗冻结构及方法.pdf
相关阅读:
今日焦点 Hot
本周热点

询价规则     |     报价规则     |     服务条款     |     法律声明

Copyright 2014-2025 www.gzcd88.com 广州橙电网络科技有限公司 版权所有 粤ICP备15096921号-2

期待您的反馈

你的需求是我的使命,你的建议的是我们的动力

关注橙电采购平台官方微信 - 橙电君