手机橙电

欢迎来到橙电平台

登录 免费注册

  创意无极限,仪表大发明。今天为大家介绍一项国家发明授权专利—— 一种低温抗氧化降雨降雪传感器

要闻     2017-12-04 13:34:39         中国仪表网

  创意无极限,仪表大发明。今天为大家介绍一项国家发明授权专利—— 一种低温抗氧化降雨降雪传感器

  创意无极限,仪表大发明。今天为大家介绍一项国家发明授权专利—— 一种低温抗氧化降雨降雪传感器。该专利由山东英楷隆科技发展有限公司申请,并于2017年12月1日获得授权公告。
 
  内容说明
 
  本发明涉及雨水检测技术领域,具体涉及一种低温抗氧化降雨降雪传感器。
 
  发明背景
 
  雨水传感器或是雨量传感器适用于气象台(站)、水文站、农林、国防等有关部门用来遥测液体降水量、降水强度、降水起止时间。用于防洪、供水调度、电站水库水情管理为目的水文自动测报系统、自动野外测报站,为降水测量传感器。目前,市场上的雨水传感器分为光学式传感器和电容式雨量传感器。光学式传感器是根据光的折射原理工作的。电容式传感器,电容式雨量传感器利用的雨水和玻璃的介质常数不同的原理制成,这种电路相对于光学式比较简单,但是由于雨滴在电容式传感器上长时间保留容易损坏检测元件,同时会由于雨水的长时间保留会使得电容式传感器的灵敏度受到影响,雨水不能快速蒸发,又由于雨水长时间停留在检测板的板子上使得板子受到腐蚀或氧化,放置潮湿的环境中会对电路造成影响,会使得使用过程中出现故障,所以需要对现有的电容式的雨水传感器电路做进一步改进。
 
  发明内容
 
  根据现有技术的不足,本发明提供了一种低温抗氧化降雨降雪传感器,以解决现有雨水传感器雨水长时间停留易使检测板氧化,以及现有雨水传感器高温加热易使传感器面板氧化,造成导电性能变差,导致雨水传感器不工作或误动作的技术问题。
 

 
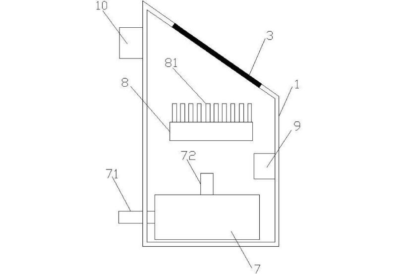
图为本发明的整体结构示意图
 
  本发明的低温抗氧化降雨降雪传感器,包括保温体、电源部、检测板、基准电压部、比较部、控制部、气泵;所述检测板安装在所述保温体的顶部,检测板的一端耦接于比较部的反向端并通过一电阻耦接于电源部,以检测是否存在雨水并输出检测信号,所述检测板的另一端接地;所述基准电压部耦接于比较部的同向端,用以提供基准电压;所述比较部的输出端输出驱动信号;所述控制部耦接于比较部的输出端以接收驱动信号,并输出控制信号;所述气泵设置在所述保温体的内底部,所述气泵的进气口设置在所述保温体的外部,所述气泵的出气口设置在所述保温体的内部,所述气泵与所述电源部电连接,且所述气泵耦接于控制部以接收控制信号并响应控制信号使气泵工作。作为优选,所述保温体的内部、检测板的下方还设置有加热板,所述加热板耦接于控制部以接收控制信号并响应控制信号使加热板工作;所述保温体的内部还设置有第一温度传感器,所述第一温度传感器的信号输出端耦接于所述控制部,所述第一温度传感器检测保温体内部的温度,并将该温度信号传输到所述控制部,所述控制部判断保温体内部的温度是否在第一预设温度范围内,并控制所述加热板停止加热或加热。
 
  作为优选,所述第一预设温度范围为20℃到30℃。作为优选,所述保温体的外部还设置有第二温度传感器,所述第二温度传感器的信号输出端耦接于所述控制部,所述第二温度传感器检测保温体外部的温度,并将该温度信号传输到所述控制部,所述控制部判断保温体外部的温度低于第二预设温度时,控制所述加热板加热。作为优选,所述第二预设温度为2℃。作为优选,所述加热板上还安装有散热片。作为优选,所述检测板包括板体和检测线路,所述检测线路表面镀金,所述检测线路之间设置有透气孔洞或透气孔槽。作为优选,所述保温体的顶部倾斜安装。作为优选,所述保温体的顶部倾角为45度。
 
  本发明还提供了一种低温降水检测方法,基于安装在保温体上的检测板的输入信号来输出用于调节安装在保温体内部的气泵的控制信号,所述检测方法包括:检测板检测雨水并输出检测信号;比较部基于基准电压部提供的基准电压和检测板输出的检测信号,比较并在输出端输出驱动信号;控制部基于所述比较部输出端输出的驱动信号,输出用以控制所述气泵的控制信号;气泵基于所述控制部输出的控制信号,响应并调整工作状态。
 
  与现有技术相比,本发明的有益效果为:通过检测板检测雨水,当雨水落在检测板上时,检测板的输出端输出低电平信号,而基准电压部输出高电平信号,通过比较部比较,则输出高电平的驱动信号,使得控制部接受驱动信号使得气泵接通电源开始工作,加热板加热保温体内部空气,气泵向检测板送出热风,提高温度的同时,加快检测板附近雨水表面的空气流动速度,使雨水快速蒸发,避免了雨水长时间停留在检测板上,使检测板受到腐蚀或氧化;同时,气泵送出常温空气,避免了直接对检测板进行高温加热造成检测板加速氧化失效的问题。
 
  如需进一步了解,请下载该专利完整说明书。
 
  更多仪表技术专利最新动态,请持续关注
相关资料下载:一种低温抗氧化降雨降雪传感器.pdf
相关阅读:
今日焦点 Hot
本周热点

询价规则     |     报价规则     |     服务条款     |     法律声明

Copyright 2014-2025 www.gzcd88.com 广州橙电网络科技有限公司 版权所有 粤ICP备15096921号-2

期待您的反馈

你的需求是我的使命,你的建议的是我们的动力

关注橙电采购平台官方微信 - 橙电君