创意无极限,仪表大发明。今天为大家介绍一项国家发明授权专利——带有可移除接线盒的过程变量变送器。该专利由罗斯蒙特公司申请,并于2017年11月24日获得授权公告。
内容说明
本发明涉及一种过程变量变送器。尤其是,本发明涉及过程变量变送器中的接线盒。
发明背景
在炼油厂中,气体和液体流过多种管道和箱体。为了控制工厂的操作,在工厂的不同部分中液体和气体的当前状态以及诸如阀和燃烧室等控制设备的状态必须被监控。被监控以确定这些状态的变量一般地被称为过程变量并且可以包括流量、压强、压差、温度、箱液位、阀位置等。这些过程变量通过称为过程变量变送器的现场设备而被提供到控制室。每个过程变量变送器包括容纳至少一个用于确定过程变量的值的电路模块的变送器壳体。电路模块基于它从正测量过程流体或者被控制的设备的状态的一个或多个过程变量传感器接收的一个或多个传感器信号而确定用于过程变量的值。电路模块也使用无线通信或有线通信而将过程变量的值发送到控制室。在一些情况下,电路模块使用双线过程控制回路发送过程变量,该双线过程控制回路也用于向过程变量变送器供电。
在一些过程变量变送器中,传感器通过导线被连接到电路模块,这些导线从传感器延伸到变送器壳体中的接线盒上的传感器线路连接器。这些接线盒也包括用于将电源导线连接到过程变量变送器的电源导线连接器。
因为接线盒容纳被连接到传感器的传感器导线,存在如下的可能性:如果过程流体损坏了传感器和保持该传感器的容器的话,过程流体将进入到变送器壳体。为了避免损坏电路模块并且降低在出现此种损坏期间电路模块点燃过程流体的风险,很多过程变量变送器具有两个腔体,这两个腔体通过密封层而相对于彼此密封隔开。第一腔体容纳电路模块,并且第二腔体容纳接线盒。附接到接线盒的连接器的固定导体延伸通过这些腔体之间的密封层并且附接到电路模块。固定导体和接线盒的连接器之间的电连接的耐久属性有助于保证传感器信号不被接线盒和电路模块之间的不良连接干扰或中断。此种不良连接可以负面地影响传感器信号并且得出错误的过程变量数值。
发明内容
一种过程变量变送器包括传感器接线盒,所述传感接线盒具有多个传感器导线连接器以连接来自至少一个过程变量传感器的传感器导线。所述传感器接线盒限定接收区,所述接收区在第一种情况下接收可移除标准电源接线盒并且在第二种情况下接收可移除瞬变电源接线盒。所述可移除标准电源接线盒和所述可移除瞬变电源接线盒中的一个被插入到所述传感器接线盒的接收区中。

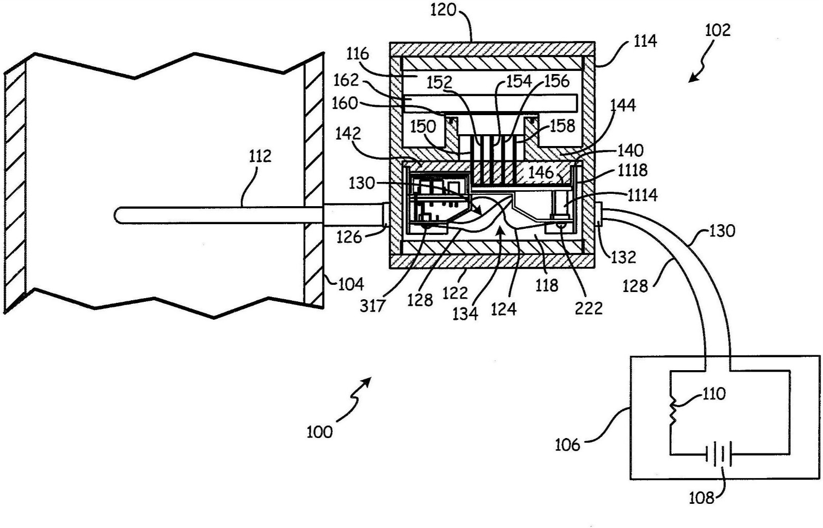
图为定位在过程环境中的过程变量变送器的剖面图
在另一实施方式中,用于过程变量变送器的接线盒包括护罩,所述护罩具有包括用于连接到传感器导线的多个传感器导线连接器的凸起传感器部和具有电源接口的凹陷电源部,其中,所述电源接口相对于传感器导线连接器的至少一个凹陷。具有用于连接到电源导线的多个电源导线连接器以及与所述护罩的所述电源接口配合的匹配电源接口的所述电源端子模块被定位在所述凹陷电源部中。
提供一种方法,所述方法包括接近永久地安装在过程变量变送器中的接线盒,以及将电源端子模块插入到所述接线盒的凹部中,使得所述凹部中的电源接口与所述电源端子模块上的电源接口配合。然后将所述电源端子模块固定到所述接线盒。
如需进一步了解,请下载该专利完整说明书。
更多仪表技术专利最新动态,请持续关注
相关资料下载:[发明授权] 带有可移除接线盒的过程变量变送器.pdf