创意无极限,仪表大发明。今天为大家介绍一项国家发明授权专利——一种摁压往复式多接孔的阀门。该专利由江苏腾龙石化机械有限公司申请,并于2017年11月21日获得授权公告。
内容说明
本发明涉及五金阀门设备技术领域,它是一种摁压往复式多接孔的阀门。
发明背景
目前,阀门的结构包括阀体,阀体内设有阀腔,阀腔内安装有阀芯,阀芯上连接有阀杆。在农业、工业等各个领域都会用到具有多个支流的阀门,然而,现有的阀门大都不可以实现多向流动即具有多个直流),大多只能实现单一的单通道流通,满足不了人们对阀门多样化的需求。
发明内容
本发明的发明目的在于提供一种摁压往复式多接孔的阀门,该阀门不仅结构新颖,而且能够实现多向流动,满足人们对阀门多样化的需求。

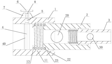
图为本发明摁压往复式多接孔的阀门实施例的剖视图
为了实现上述发明目的,本发明采用了以下技术方案:一种摁压往复式多接孔的阀门,包括第一管道、第二管道、第三管道、密封件、把手和固定块,所述第一管道的外壁设置有一壳体,所述壳体内设置有一贯穿到第一管道下内壁的中心杆,所述中心杆上设置有一阀瓣,所述中心杆还贯穿于壳体内的固定块和密封件,所述中心杆的顶部与壳体外的把手相连;所述第二管道与第一管道之间设有用于第二管道相对第一管道进行弹性伸缩的第一弹性伸缩自锁结构,第二管道滑动套接于第一管道,所述第二管道上设有第一出水孔;所述第三管道与第二管道之间设有用于第三管道相对第二管道进行弹性伸缩的第二伸缩自锁结构,第三管道滑动套接于第二管道,所述第三管道上设有第二出水孔。
作为优选,所述第一、第二弹性伸缩自锁结构均包括弹簧、支撑件、滑块和用于滑块往复移动的滑槽,所述滑块位于滑槽内,所述支撑件位于第一管道上,弹簧一端抵触支撑件,弹簧的另一端抵触第二管道,滑块固定于第二管道表面,滑槽设于第一管道的表面;所述滑槽包括:第一直槽;第一直槽包括弹簧未压缩时滑块所处的起始端,而相反的一端是连接端。
始端连接第一直槽连接端的第一折槽;第一折槽末端轴向远离第一直槽的起始端;始端连接第一折槽末端的第一退槽;第一退槽末端的位置相比第一折槽末端轴向更靠近第一直槽的起始端;始端连接第一退槽末端的第二折槽;第二折槽的末端位置相比第一退槽的末端更远离第一直槽的起始端;以及连接第二折槽另一端和第一直槽起始端的回退曲槽;第一退槽和第二折槽连接处由槽斜面构成夹角,夹角位置处于第一折槽末端和第二折槽末端之间。
作为优选,所述支撑件呈环形,支撑件的截面呈“L”形,第二管道朝向支撑件的一端设有供弹簧放置的嵌口。所述第二管道滑动套接于第一管道内部,滑槽位于第一管道内表面,滑块位于第二管道外表面。所述第三管道滑动套接于第二管道内部。所述第一出水孔内还设置有内螺纹。所述第二出水孔内还设置有内螺纹。
与现有技术相比,采用了上述技术方案的摁压往复式多接孔的阀门,具有如下有益效果:一、该阀门,设计合理,且管道上设置有多个出水孔,可以将水分成多个不同的支流,满足了人们对于多个支流的需求,同时还具有控制方便的优点。二、由于弹性伸缩自锁结构的设置,可实现第二管道于第一管道的弹性伸缩,当无需使用第一出水口时将第一出水口重新回到第一管道的外壁或内壁,有效避免第二管道收到外物撞击而发生损坏。三、弹性伸缩自锁结构可轻松的实现第二管道的滑动及锁定状态,通过摁压即可实现伸缩,方便快捷。
如需进一步了解,请下载该专利完整说明书。
更多仪表技术专利最新动态,请持续关注
相关资料下载:[发明授权] 一种摁压往复式多接孔的阀门.pdf