创意无极限,仪表大发明。今天为大家介绍一项国家发明授权专利——用于阀门的高稳定性单向阀。该专利由合肥长源液压股份有限公司申请,并于2017年11月21日获得授权公告。
内容说明
本发明涉及一种单向阀,尤其是一种用于阀门的高稳定性单向阀。
发明背景
单向阀是液压系统中常见的阀门之一,单向阀中的流体只能沿进油口流动,出油口介质却无法回流,俗称单向阀,又称止回阀或逆止阀。用于液压系统中防止油流反向流动。
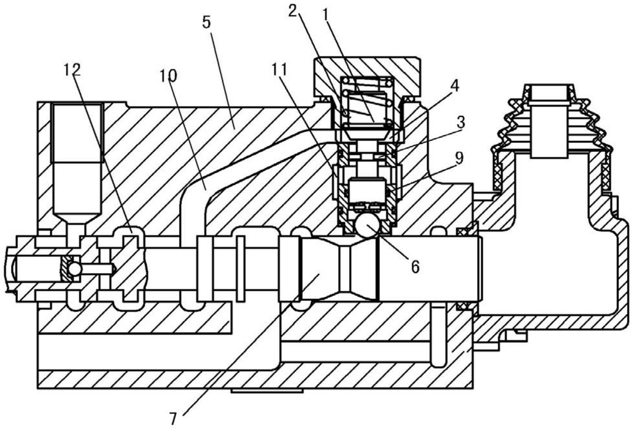
目前,用于液压系统的直通式单向阀包括阀芯和弹簧,直接安装于阀门的阀体5内的单向阀腔4内,实现不同油道之间的液压油的单向流通。阀芯一般包括前端导向体101、中部连接体102和尾端103。现有的单向阀,阀芯安装于阀门内的单向阀腔内时,尾端设置有弹簧,下端设置有钢球,阀芯1位于钢球6和弹簧2之间,钢球6与阀杆7相抵接并由阀杆7运动控制钢球的升降。当密封时,单向阀的尾端下部的锥形部8与阀门内壁相抵接实现密封,单向阀的前端导向体与阀腔内壁上的密封圈9实现密封。当阀杆7向右移动至工作位时,钢球向上移动,单向阀的阀芯上升,单向阀的尾端下部的锥形部8与阀门之间的密封解除,第一油道10和第二油道11相连通,下端的前端导向体与阀门依然保持直接接触和密封。但除了前端导向体与阀门直接接触外,上端的中部连接体和尾端均不与阀门其他部位接触,进油腔12内的高压油依次通过第一油道和单向阀腔进入第二油道;所述第一油道和所述第二油道均与所述单向阀腔相连接,通过单向阀的阀芯实现第一油道和第二油道直接的液压油单向流通。此时,由于单向阀的阀芯只有下端固定,在液压油存在压力波动时,阀芯的上部会随着油压的波动而左右晃动。随着阀芯的晃动,前端导向体与单向阀腔、密封垫之间的摩擦加剧,会导致单向阀的阀芯的前端导向体外周磨损,密封件容易被压坏,降低了单向阀的使用寿命,还导致密封失效而致使出现漏油现象,从而降低了阀门的控制精度。
发明内容
本发明是为避免上述已有技术中存在的不足之处,提供一种用于阀门的高稳定性单向阀,以确保阀芯不会在油压波动时晃动、延长单向阀的使用寿命、提高阀门的工作可靠性。

图为采用本发明的用于阀门的高稳定性单向阀设于阀门内时的剖视图
本发明为解决技术问题采用以下技术方案。用于阀门的高稳定性单向阀,包括阀芯和弹簧;所述阀芯包括前端导向体、中部连接体和尾端;在所述中部连接体的外周面上设置了一个二级导向体,所述二级导向体上设置了沿着所述阀芯的轴向贯穿所述二级导向体的卸荷槽。
本发明的用于阀门的高稳定性单向阀的结构特点也在于:所述卸荷槽为方形槽。
与已有技术相比,本发明有益效果体现在:本发明的用于阀门的高稳定性单向阀,所述阀芯包括前端导向体、中部连接体和尾端;在所述中部连接体的外周面上设置了一个二级导向体,所述二级导向体上设置了沿着所述阀芯的轴向贯穿所述二级导向体的卸荷槽。
本发明的用于阀门的高稳定性单向阀,具有以下几个技术优点。(1)通过设置二级导向体,避免了阀芯的上部会随着油压的波动而左右晃动,导致单向阀的阀芯的前端导向体外周磨损的问题,延长了单向阀的使用寿命,还避免了密封失效而致使出现漏油现象,提高了阀门工作的稳定性。(2)由于在二级导向体上设置了卸荷槽,可使得高压油从第一油道内通过卸荷槽流入第二油道,单向阀能够正常实现油液的单向流通。
本发明的用于阀门的高稳定性单向阀,具有可确保阀芯不会在油压波动时晃动、延长单向阀的使用寿命、提高阀门的工作可靠性等优点。
如需进一步了解,请下载该专利完整说明书。
更多仪表技术专利最新动态,请持续关注
相关资料下载:[发明授权] 用于阀门的高稳定性单向阀.pdf