创意无极限,仪表大发明。今天为大家介绍一项国家发明授权专利——一种模块化智能水表。该专利由三川智慧科技股份有限公司申请,并于2017年11月14日获得授权公告。
内容说明
本实用新型涉及水表技术领域,更具体地,涉及一种模块化智能水表。
发明背景
随着城市供水行业的日益发展,高质量的供水管理成为城市公共事业的急需,智能水网的建设也必将作为促进水资源管理的重要方式,用户终端的智能水表是智能水网的重要组成部分和设计关键环节。目前常见的机械式计量自来水水表,由机械式控制器记录水的用量,不具备数据交换功能和通信能力,人工抄表困难,常有漏抄、估抄现象。
智能水表是一种利用现代微电子技术及现代传感技术对用水量进行计量并进行用水数据传递及结算交易的新型水表。现有的智能水表内的各功能单元之间的信号传输均通过线缆实现,这样使得控制器拆装时容易影响到其他单元,通常是将水表做成一个整体。
现有智能水表的整表部件中,水表的电子元件的故障率相对较高,内部电子元器件、电池等容易受损,当内部电子控制装置失灵或损坏时,则需要将整个水表拆下,对发生故障的机械或电路部分进行拆卸及更换。又由于现有水表的内部元器件结构复杂,传输导线较多,从而使得安装及拆卸的难度增大,更换与维修困难,维修人员往往是把整体水表一起更换,更换成本高。
发明内容
本实用新型提供一种克服上述问题或者至少部分地解决上述问题的模块化智能水表,该装置可解决水表安装及拆卸不便和维修成本高的缺陷。
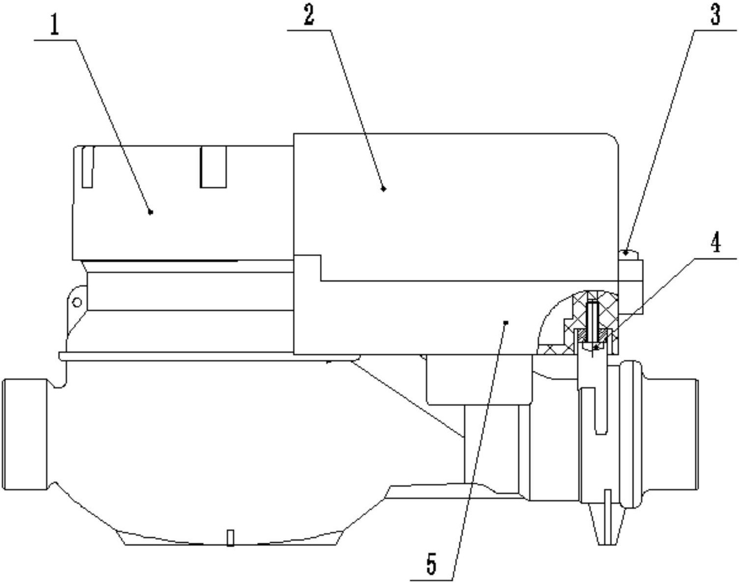
根据本实用新型的技术方案,提供一种模块化智能水表,该水表包括阀控表壳组件、模块组件和电动执行机构组件,所述模块组件可拆卸连接在所述电动执行机构组件上,所述电动执行机构组件可拆卸连接在所述阀控表壳组件上。

图为根据本实用新型实施例的模块化智能水表的结构主视图
作为上述技术方案的进一步改进方案,所述模块组件通过卡扣结构安装在所述电动执行机构组件的上方。采用卡扣结构连接所述模块组件及电动执行机构组件,具有连接可靠、安装及拆卸方便快捷的优点。所述模块组件通过装配螺钉安装在所述电动执行机构组件的上方。采用装配螺钉连接所述模块组件及电动执行机构组件,具有连接可靠、安装及拆卸方便快捷的优点。所述模块组件和所述电动执行机构组件的侧面均对应地设有凸台,所述凸台上设有用于安装所述装配螺钉的螺纹孔。通过设置在侧面的所述凸台,可方便地安装利用装配螺钉将所述模块组件及电动执行机构组件连接在一起。
所述模块组件和所述电动执行机构组件的上端均设有竖直的螺纹孔,所述装配螺钉由上方安装至所述螺纹孔内,安装及拆卸操作方便快捷。
所述装配螺钉的上方设有防拆堵头。通过设置防拆堵头,可有效防止该智能水表被私自拆卸,对水表起到有效的保护作用。所述电动执行机构组件通过多个联结螺钉安装在所述阀控表壳组件的上方。所述阀控表壳组件上设有与用于与所述电
动执行机构组件的下端连接的连接件,所述连接件与所述电动执行机构组件的下端均设有对应的螺纹安装孔,多个所述联结螺钉均由下方安装至所述螺纹安装孔内,可将所述阀控表壳组件与所述电动执行机构组件可靠地固定连接在一起。所述连接件设有四个,且均与所述电动执行机构组件的下端面平行设置。
所述阀控表壳组件包括球阀表壳、表罩、接头、球芯、阀杆、机芯、机芯信号轮和磁钢等零部件,组成基表的部分。所述电动执行机构组件包括电机和传动齿轮组等部件,所述电动执行机构组件的各部件作为一个整体,安装及拆卸方便,当该电动执行机构组件损坏时,将其从阀控表壳组件上拆下即可,操作简单快捷。
所述模块组件包括智能电子模块、电池和传感器等元器件,所述模块组件的各部件作为一个整体,安装及拆卸方便,当该模块组件损坏时,将其从电动执行机构组件上拆下即可,操作简单快捷。
基于上述技术方案,本实用新型提出的模块化智能水表,将水表的阀控表壳组件、模块组件和电动执行机构组件分别模块化,各个模块之间均采用可分离式结构,使得各模块之间连接、安装及拆卸方便,简化维修工人的安装及拆卸工作。相比于现有水表损坏时需更换整个水表,本实用新型只需更换特定模块,可大大节约智能水表的维护成本,适用性广泛。
如需进一步了解,请下载该专利完整说明书。
更多仪表技术专利最新动态,请持续关注
相关资料下载:[实用新型] 一种模块化智能水表.pdf