创意无极限,仪表大发明。今天为大家介绍一项国家发明授权专利——将模拟电输入信号转换为模拟电输出信号的测量变送器。该专利由菲尼克斯电气公司申请,并于2017年10月31日获得授权公告。
内容说明
本发明涉及一种测量变送器,特别是电流或电压的测量变送器,该测量变送器将模拟电气输入信号转换为模拟电气输出信号。
发明背景
测量变送器是足够地为人所熟知的并且特别应用在自动化、控制及脉冲技术(Regungstechnik)这些应用中。例如,测量变送器能够优选地将电流信号或者电压信号转变为标准化的电流信号或电压信号并且将这些信号作为输入信号提供给自动化设备,例如可编程控制器。因此电流测量变送器能够提供标准化的0至20mA的模拟电气电流信号,而电压测量变送器则能提供标准化的0至10V的模拟电压输出信号。然而也已知一种测量变送器,该测量变送器能够无关于输入信号地在电压输出和电流输出之间转换。
德国菲尼克斯电气公司(Phoenix Contact Deutschland GmbH)生产并销售多种电流测量变送器,其中能够通过输入上限值和下限值来调整输入测量范围,其中该输入测量范围小于电流测量变送器的最大可用的输入测量范围。调整出的输入测量范围也称为测量窗口并映射到最大可用的输出范围。
这种电流测量变送器的缺点在于,只能够对于在调整出的测量窗口内的测量值具有高分辨率并进行处理,而却丧失了所有在调整出的测量窗口以外的测量信息。
发明内容
本发明的目的在于,改进前述的测量变送器,从而避免上述缺陷。
本发明的中心思想在于,提供一种测量变送器,该测量变送器例如取决于在过程中需要的至少一个测量值的重要性,以能够调节的不同分辨率来将所接收的在最大允许的输入范围内的多个模拟电气输入信号转换为多个模拟电气输出信号,这些模拟电气输出信号处在测量变送器的最大允许的输出范围内。

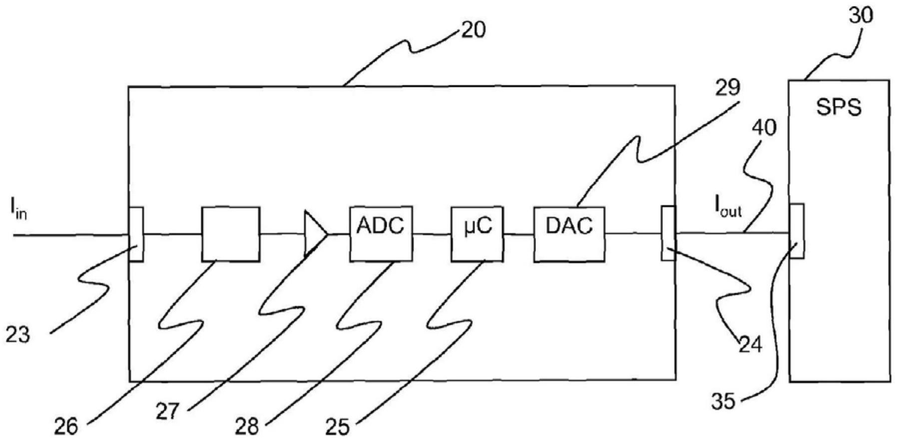
图为根据本发明的一种示例性的电流测量变送器
相应地设置一种用于将模拟电气输入信号转换为模拟电气输出信号的测量变送器。该测量变送器能够具有探测装置,该探测装置就此设计为,探测在预设的输入测量范围内的模拟电气输入信号。该测量变送器的输入测量范围划分为n个可调节的输入部分测量范围,而该测量变送器的输出范围则划分为n个可调节的输出部分测量范围,其中n大于1。此外,在测量变送器中设置一种设备,该设备设计为,对所探测到的模拟电气输入信号所处的输入部分测量范围进行识别。此外能够在测量变送器中设置一种映射设备,该映射设备设计为,将每个输入部分测量范围映射到n个输出部分范围其中一个单独的输出部分范围。
测量变送器还能够具有一种设备,该设备就此设计为,根据识别出的输入部分测量范围将探测到的模拟电气输入信号转换为相应的模拟电气输出信号。
预设的输入测量范围优选地涉及到测量变送器能够使用的最大输入测量范围。取决于至少一个待测量的物理数值的意义或重要性,能够以压缩形式或展开形式将每个输入部分测量范围映射到相应的输出部分范围。“以压缩形式”意味着:处在相应的输入部分测量范围内的输入信号,相对于处在以“展开形式”而映射到相应输出部分范围的、输入部分测量范围内的输入信号而言,以较低的输入信号分辨率而转换为输出信号。
优选地,该测量变送器能够以电流测量变送器或电压测量变送器的形式而构造,该测量变送器将模拟输入电流转换为模拟输出电流或者将模拟输入电压转换为模拟输出电压。相应地提供一种用于将模拟电气输入信号转换为模拟电气输出信号的方法。该方法设置为,探测在测量变送器附近的、在预设的输入测量范围内的模拟电气输入信号。该测量变送器的输入测量范围分为n个可调节的输入部分测量范围,而该变送器的输出范围划分为n个可调节的输出部分范围。就此n选择为大于1。每个输入部分测量范围能够映射到n个输出部分范围其中一个单独的输出部分范围。
能够将探测到的模拟电气输入信号对应归类于输入信号所处的输入部分测量范围。根据输入信号对应的输入部分测量范围来将所探测到的模拟电气输入信号转换为对应的模拟电气输出信号。能够通过输入上限值和下限值来定义出每个输入部分测量范围。以类似的方式,能够通过输入上限值和下限值来定义每个输出部分范围。
如需进一步了解,请下载该专利完整说明书。
更多仪表技术专利最新动态,请持续关注
相关资料下载:[发明授权] 将模拟电输入信号转换为模拟电输出信号的测量变送器.pdf