创意无极限,仪表大发明。今天为大家介绍一项国家发明授权专利——一种智能水表自供电装置。该专利由山东冠翔仪表有限公司申请,并于2017年11月7日获得授权公告。
内容说明
本发明涉及一种智能水表,特别是涉及一种带有自供电装置的智能水表;本发明还提供了一种智能水表的水轮复合材料。
发明背景
智能水表,或者也称为电子式测量水表,其比机械式测量水表具有很多优点,可以数字显示更精确,可远传,可控制,可与计算机联网。但是现有的智能水表一般都是在壳体内设置有电压变换存储单元、电子传感测控集成电路板以及流体控制阀,这就使得现有的智能水表有个共同的缺点,就是必须使用电池或者电源作为能源,这给使用和安装都带来很多不便,使用电池供电需要频繁更换电池,废电池造成环境污染不利于环保,使用电源则需要在管道中穿孔、排线、接线等,施工和安装等工序繁琐,成本较高。
发明内容
为了解决上述问题,本发明提供一种智能水表自供电装置,其能够在水表工作时充分利用水流的动能,通过在水流管道上安装一个直流发电机,由自来水冲击水轮发电,发出的电能接蓄电池供智能水表长期使用。

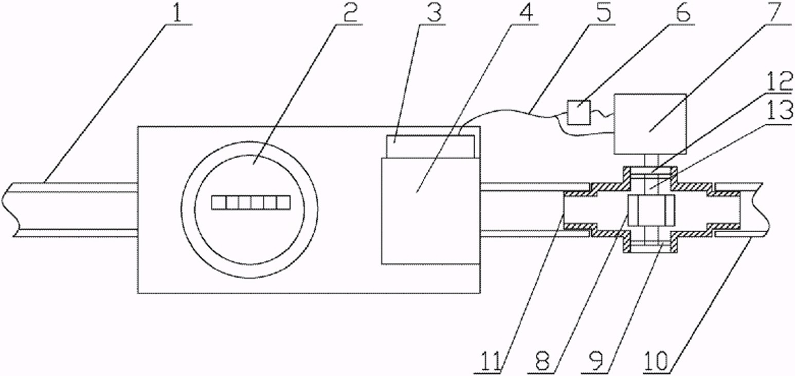
图为本发明的智能水表自供电装置的结构示意图
本发明的所采用的技术方案是:一种智能水表自供电装置,包括智能水表、储电器、直流电机、水轮以及四通管接头,所述智能水表安装在自来水的进水管中,智能水表包括电路板和驱动阀,自来水的进水管和出水管之间连接有四通管接头,所述四通管接头的左接头连接进水管,右接头连接出水管,所述四通管接头内设有水轮,所述水轮固定套装在所述直流电机的驱动轴上,所述直流电机的驱动轴通过设置在四通管接头上、下接头内的轴承座穿插在四通管接头的内部,所述轴承座与四通管接头的上、下接头接触的位置均设有密封圈,所述直流电机通过导线与智能水表的电路板直接相连,或者所述直流电机发出的电能通过所述储电器存储电能后,由储电器通过导线与所述智能水表的电路板相连。
上述装置的水轮一般用合金材料做成,其不耐腐蚀,使用寿命短,基于上述问题,本发明还提供了一种水轮复合材料,该材料机械强度好,耐腐蚀,使用寿命长,避免了水轮损坏导致上述装置不能正常使用。
具体地,一种水轮复合材料,其按照如下方法制备而成:1)按照重量份取以下各原料备用:云母石1份,锂基膨润土1份,玻璃纤维1份,硼砂2份,碳化硅2份,白石墨2份,正硅酸乙酯3份,二乙二醇单丁醚5份,聚碳酸酯7份,单硬脂酸甘油酯8份,聚氯乙烯树脂20份;2)将云母石,锂基膨润土,硼砂,碳化硅以及白石墨,混合均匀,投入到含有无水乙醇的球磨罐中,按照球料比为20:1的重量比加入氧化铝陶瓷球,球磨时间为20小时,球磨温度为室温,球磨机转速300转/分钟,磨至粉末粒径为200目,蒸发掉无水乙醇,得到辅料;3)将正硅酸乙酯,二乙二醇单丁醚,聚碳酸酯,单硬脂酸甘油酯以及聚氯乙烯树脂,混合均匀,加入密炼机,在温度为120℃下混炼3分钟,得到主料;4)将辅料、主料以及玻璃纤维,依次添加到反应罐中,搅拌均匀,随后将反应罐的温度按照10℃/min的速度升高至200℃,保温反应5min,然后冷却至室温,进入双螺杆挤出机挤压成熔融状态,待物料完全熔融后挤出到模具中,凝固后脱模即得。
本发明的有益效果如下:1 . 本发明结构设计合理,充分利用自来水的流动所发出的电能供水表使用,节约了能源。2 . 本发明储电器也能起到存储电能的功能,在自来水不流动的情况下也能够维持较长时间的使用。3 . 本发明水轮制备工艺简单可行,避免采用合金材料,有效地防止腐蚀,使用寿命长,避免了水轮损坏导致上述装置不能正常使用。4 .本发明的水轮材料各方面性能较好,其并不局限于上述装置,还可以在其他装置上使用,也属于本发明的主要创新点。
如需进一步了解,请下载该专利完整说明书。
更多仪表技术专利最新动态,请持续关注
相关资料下载:[发明授权] 一种智能水表自供电装置.pdf