创意无极限,仪表大发明。今天为大家介绍一项国家发明授权专利——高温远传压力差压变送器。该专利由重庆市南孝君科技有限公司申请,并于2017年10月20日获得授权公告。
内容说明
本实用新型涉及一种高温远传压力差压变送器,适用于耐腐蚀、耐高温,零下45℃-300℃高温介质测量,广泛用于化工、电力、冶金、制药等领域。
发明背景
目前已知在国内或国外测量压力的变送器都是通过测量膜片、连接法兰、毛细管、压力差压变送器本体、高温充灌液等部件组成。传统的变送器在测量高温介质时,高沸点充灌液在高温介质环境中因其沸点高流动性差,从而影响毛细管传输速度,导致压力值显示迟缓,低沸点充灌液在高温环境中又容易出现汽化膨胀,引起膜片损坏且难以修复的情况;传统的远传压力、差压变送器是通过毛细管充灌硅油的形式传输到压力、差压变送器本体,实现压力的测量,在传统的变送器中,毛细管一般不能超过15米,而且受环境温度变化,除了取压管出现挥发和堵塞现象外,一旦毛细管漏油,将导致整个变送器测量无法实现,因此,传统的变送器既难以在高温介质环境中测量,又被限制了传输距离,且维修极其不便。
因此本领域技术人员致力于开发一种提高高温远传压力差压变送器的响应时间的同时又能在高温介质测量中使用,且维修方便的高温远传压力差压变送器。
发明内容
有鉴于现有技术的上述缺陷,本实用新型所要解决的技术问题是提供一种提高高温远传压力差压变送器的响应时间的同时又能在高温介质测量中使用,且维修方便的高温远传压力差压变送器。
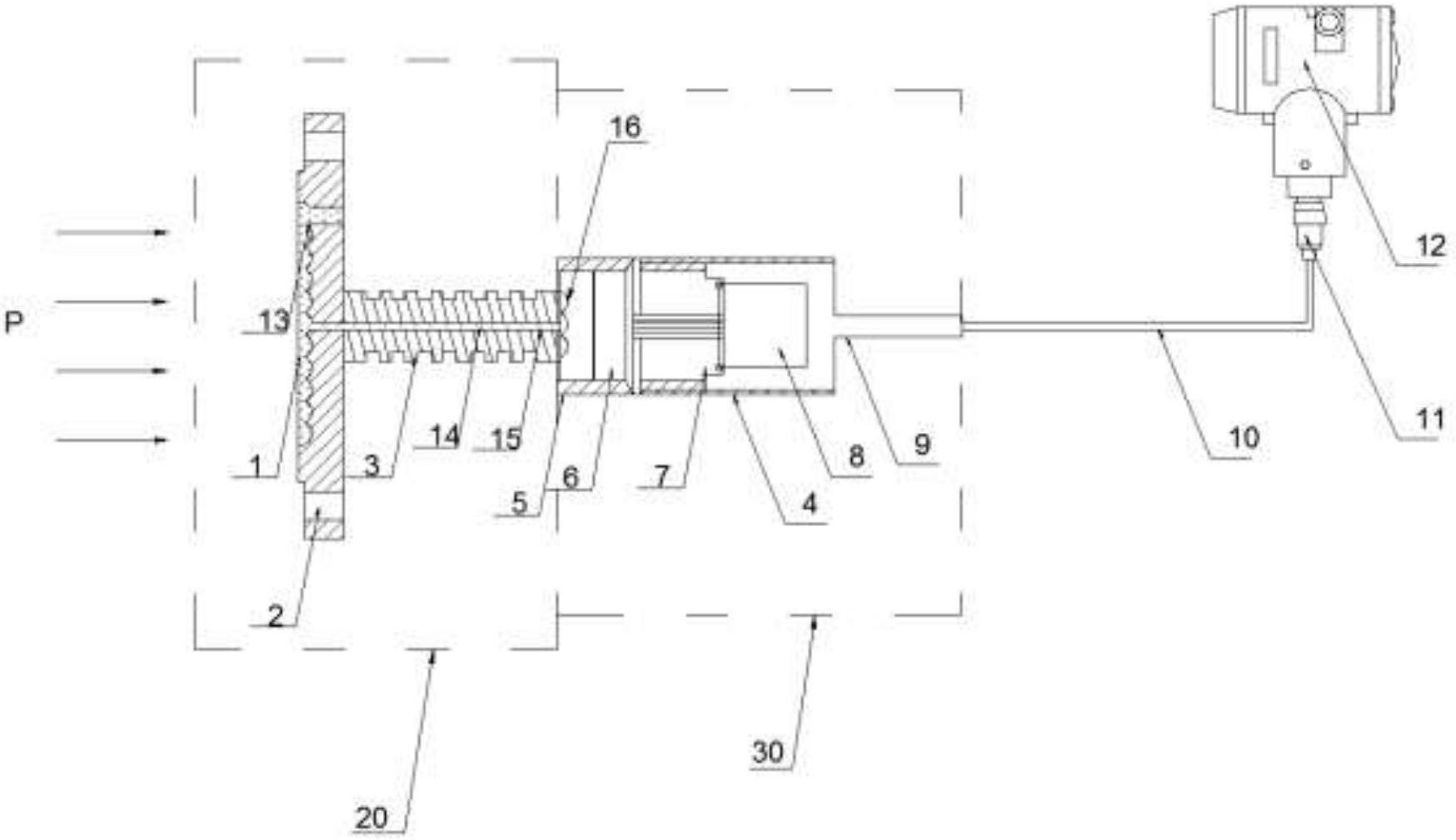
为实现上述目的,本实用新型提供了一种高温远传压力差压变送器,包括高温充灌区域、高温传感区域、信号传输装置、远传压力差压变送器本体,所述高温传感区域包括电路信号转换装置和固定连接装置;所述信号传输装置为高温通讯电缆。

图为本实用新型一实施例的结构原理图
所述电路信号转换装置包括高温传感器和放大电路,高温传感器内的应变电阻和放大电路构成惠斯登电桥;所述的固定连接装置包括高温传感器连接件、高温传感器固定件、放大电路连接件、高温电缆接头。
所述高温传感器连接件中安装有高温传感器,并通过高温传感器固定件固定;所述放大电路连接中安装有放大电路,所述放大电路连接件外侧焊接有高温电缆接头,所述高温传感器连接件和所述放大电路连接件通过螺丝拧紧组合在一起。
所述的高温充灌区域包括激光焊接在连接法兰外侧的测量膜片,所述连接法兰内侧焊接有散热筒,散热筒内包裹有一端与测量膜片焊接连接的毛细管,散热筒另一端与高温传感器连接件外侧焊接连接,毛细管的另一端与高温传感器内的应变膜片相连,连接法兰上设置有高温充灌孔,通过高温充灌孔抽真空后灌入高温充灌液密封;所述的高温通讯电缆一端装入高温电缆接头内,与放大电路相连,另一端通过M12航空插件与压力差压变送器本体进行连接。所述的高温传感器选用蓝宝石芯体;所述的高温充灌液选用超高温充灌液。
本实用新型的有益效果是:本发明通过高温传感器将待测压力转换为电信号,再将电信号通过高温通讯电缆传递给压力差压变送器本体,实现高温介质压力的传输和测量,通过电信号的传递方式大大提高了高温远传压力差压变送器的响应时间,同时本实用新型也能在高温环境中工作,且各个工作区域替换方便,十分便于装置的维修工作。
如需进一步了解,请下载该专利完整说明书。
更多仪表技术专利最新动态,请持续关注
相关资料下载:[实用新型] 高温远传压力差压变送器.pdf